|
|
|
|
Hydraulics, Inc. 旋轉接頭 SWIVELS
SWIVELS, COUPLINGS, AND CONTROLS FOR HYDRAULIC SYSTEMS
SWIVELS;S-Inline,HS-Heavy Duty Inline,9S-90° Swivel,9SS-Dual Plane Swivel,18S-Parallel Plane Swivel,Flange Swivels
SWIVELS;S-Inline
淬火碳鋼筒體和閥桿-大磨損表面
保護性處理是采用黃色鉻酸鹽RoHS標準表面鍍鋅
鉻合金固定球-長壽命
標準O形環和支承環-現場可更換密封套件
可選黃油嘴
拋光筒孔-延長密封壽命
可選密封材料,見下文
低壓降-見直列壓降表
低旋轉扭矩-見串聯扭矩表
Hydraulics, Inc. Design Features
Hardened carbon steel barrel and stem - Large wear surface
Protective treatment is zinc plating with yellow chromate RoHS compliant finish
Chrome retainer balls - Long life
Standard O-Ring and back up ring - Field replaceable seal kits
Optional grease fitting
Burnished barrel bore - Extended seal life
Optional seal material, see below
Low pressure drop - See in-line pressure drop chart
Low rotational torque - See in-line torque chart
注意CAUTION:
不要試圖在壓力下斷開和拆卸旋轉裝置。在壓力下,不要從閥桿上拆下旋轉筒。不要試圖操作損壞的旋轉接頭,也不要操作顯示油液泄漏和/或明顯軸承磨損的旋轉接頭。考慮所選旋轉裝置的額定壓力不能超過旋轉裝置及其所選端口的額定值。請參閱安全信息-選擇和使用液壓系統,包括旋轉接頭。Do not attempt to disconnect and disassemble swivels under pressure. Do not remove the swivel barrel from stem while under pressure. Do not attempt to operate damaged swivels and do not operate swivels displaying fluid leak and/or obvious bearing wear. Consider that a selected swivels rated pressure cannot exceed the lowest rating of the swivel and of it's selected ports. Refer to Safety Information - Selecting and Using Hydraulics, Inc. Swivel Joints.
壓力限制Pressure Limitations:
“S”系列回轉體的工作壓力為3000 psi(20.7 MPa);然而,連接管道的額定壓力可能高于或低于旋轉接頭。流體動力系統的額定工作壓力不應超過其額定部件。Maximum working pressure for “S” Series swivels is 3,000 psi (20.7 Mpa); however, connecting plumbing may be rated higher or lower than that of the swivel. The rated working pressure of a fluid power system should not exceed the lowest rated component therein.

安裝信息Installation Information:
液壓系統公司的旋轉接頭通常被認為是流體動力系統中遇到的低速旋轉。轉速取決于系統環境,流體類型和與溫度和壓力有關的極端條件是考慮因素。可疑的應用應通過實驗室或原型測試證明。安裝時應避免污染,連接管道不應造成過度負荷。水龍頭不應用作承重或結構構件。有關更多信息,請參閱選擇和使用液壓系統,包括旋轉接頭。Hydraulics, Inc. swivel joints are generally considered for low speed rotation as encountered in fluid power systems. Maximum speed of rotation depends upon system environment, with fluid types and extreme conditions related to temperature and pressure being of prime consideration. Questionable applications should be proven by laboratory or prototype testing. Contamination at installation should be avoided and connecting plumbing should not cause undue loading. The swivel should not be used as a load bearing or structural member. Refer to Selecting and Using Hydraulics, Inc. Swivel Joints for additional information.
選項Options
本網站上顯示的旋轉閥被視為液壓公司的標準配置。有關壓力額定值或端口選項的其他要求,本網站上未顯示,請與我們聯系。可通過在零件號中添加密封化合物指示符后綴來指定可選的密封材料。Swivels shown on this website are considered standard to Hydraulics, Inc. For other requirements relative to pressure ratings or port options, not shown on this website, please contact us. Optional seal material may be specified by adding the seal compound designator suffix to the part number.
 |
 |
 |
| Male O-Ring Face Seal to Male O-Ring Face Seal |
Male O-Ring Face Seal to Female JIC |
Male O-Ring Face Seal to Female O-Ring Face Seal |
 |
 |
 |
| Male O-Ring Face Seal to Male SAE O-Ring Boss |
Male O-Ring Face Seal to Male Pipe |
Male JIC to Male O-Ring Face Seal |
 |
 |
 |
| Male JIC to Female O-Ring Face Seal |
Male JIC to Female JIC |
Male JIC to Male SAE O-Ring Boss |
 |
 |
 |
| Male JIC to Male Pipe |
Male JIC to Female Pipe |
Female Pipe to Male O-Ring Face Seal |
 |
 |
 |
| Female Pipe to Female O-Ring Face Seal |
Female Pipe to Female JIC |
Female Pipe to Male SAE O-Ring Boss |
 |
 |
 |
| Female Pipe to Male Pipe |
Female Pipe to Female Pipe |
Male JIC to Male JIC |
 |
|
|
| Male O-Ring Face Seal to Male JIC |
|
|
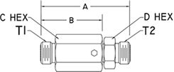
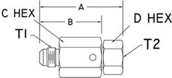
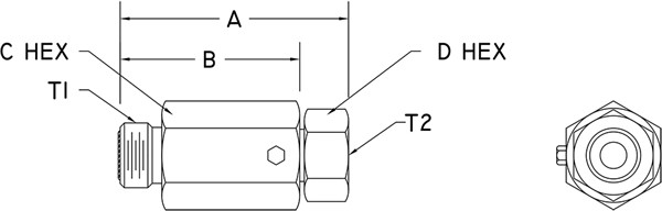
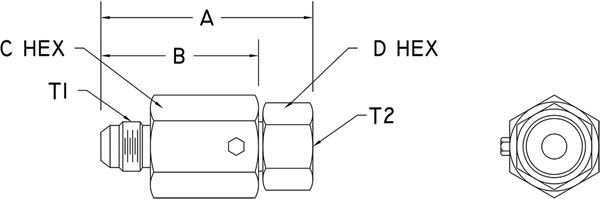
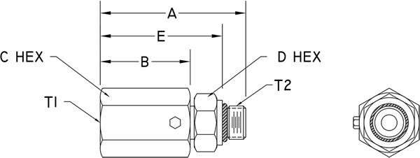
SWIVELS | S-INLINE | MALE O-RING FACE SEAL TO MALE O-RING FACE SEAL
MALE O-RING FACE SEAL TO MALE O-RING FACE SEAL
| Part Number |
T1 |
T2 |
A |
B |
C Hex
(* = Round) |
D Hex
(* = Round) |
Max W.P. |
| S6F6-F6 |
11/16-16UN-2A |
11/16-16UN-2A |
2.81
71.4 mm |
1.90
48.3 mm |
1.00
25.4 mm |
1.00
25.4 mm |
3,000 PSI20.7 MPa |
| S6F8-F8 |
13/16-16UN-2A |
13/16-16UN-2A |
2.81
71.4 mm |
1.90
48.3 mm |
1.00
25.4 mm |
1.00
25.4 mm |
3,000 PSI20.7 MPa |
| S8F10-F10 |
1-14UNS-2A |
1-14UNS-2A |
3.32
84.3 mm |
2.09
53.1 mm |
1.25
31.8 mm |
1.25
31.8 mm |
3,000 PSI20.7 MPa |
| S8F12-F12 |
1-3/16-12UN-2A |
1-3/16-12UN-2A |
3.32
84.3 mm |
2.09
53.1 mm |
1.25
31.8 mm |
1.25
31.8 mm |
3,000 PSI20.7 MPa |
| S16F16-F16 |
1-7/16-12UN-2A |
1-7/16-12UN-2A |
4.29
109.0 mm |
2.75
69.9 mm |
1.75
44.5 mm |
1.75
44.5 mm |
3,000 PSI20.7 MPa |
| S20F20-F20 |
1-11/16-12UN-2A |
1-11/16-12UN-2A |
4.58
116.3 mm |
2.81
71.4 mm |
2.25
57.2 mm |
2.00
50.8 mm |
3,000 PSI20.7 MPa |
| S24F24-F24 |
2-12UN-2A |
2-12UN-2A |
5.27
133.9 mm |
3.22
81.8 mm |
*2.75
69.9 mm |
*2.75
69.9 mm |
3,000 PSI20.7 MPa |
SWIVELS | S-INLINE | MALE O-RING FACE SEAL TO FEMALE JIC
MALE O-RING FACE SEAL TO FEMALE JIC

| Part Number |
T1 |
T2 |
A |
B |
C Hex
(* = Round) |
D Hex
(* = Round) |
Max W.P. |
| S6F6-JF6 |
11/16-16UN-2A |
9/16-18UNF-2B |
2.50
63.5 mm |
1.90
48.3 mm |
1.00
25.4 mm |
1.00
25.4 mm |
3,000 PSI20.7 MPa |
| S6F8-JF8 |
13/16-16UN-2A |
3/4-16UNF-2B |
2.57
65.3 mm |
1.90
48.3 mm |
1.00
25.4 mm |
1.00
25.4 mm |
3,000 PSI20.7 MPa |
| S8F8-JF8 |
13/16-16UN-2A |
3/4-16UNF-2B |
2.76
70.1 mm |
2.09
53.1 mm |
1.25
31.8 mm |
1.25
31.8 mm |
3,000 PSI20.7 MPa |
| S8F10-JF10 |
1-14UNS-2A |
7/8-14UNF-2B |
2.89
73.4 mm |
2.09
53.1 mm |
1.25
31.8 mm |
1.25
31.8 mm |
3,000 PSI20.7 MPa |
| S8F12-JF12 |
1-3/16-12UN-2A |
1-1/16-12UN-2B |
2.89
73.4 mm |
2.09
53.1 mm |
1.37
34.8 mm |
1.25
31.8 mm |
3,000 PSI20.7 MPa |
| S12F12-JF12 |
1-3/16-12UN-2A |
1-1/16-12UN-2B |
2.89
73.4 mm |
2.09
53.1 mm |
1.37
34.8 mm |
1.37
34.8 mm |
3,000 PSI20.7 MPa |
| S16F16-JF16 |
1-7/16-12UN-2A |
1-5/16-12UN-2B |
3.59
91.2 mm |
2.75
69.9 mm |
1.75
44.5 mm |
1.75
44.5 mm |
3,000 PSI20.7 MPa |
| S20F20-JF20 |
1-11/16-12UN-2A |
1-5/8-12UN-2B |
3.73
94.7 mm |
2.81
71.4 mm |
2.25
57.2 mm |
2.00
50.8 mm |
3,000 PSI20.7 MPa |
| S24F24-JF24 |
2-12UN-2A |
1-7/8-12UN-2B |
4.22
107.2 mm |
3.22
81.8 mm |
*2.75
69.9 mm |
*2.75
69.9 mm |
3,000 PSI20.7 MPa |
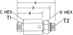
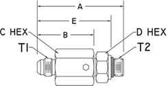
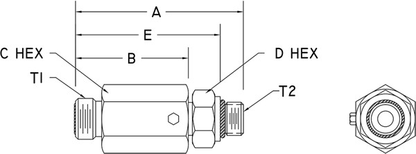
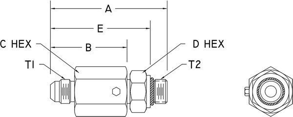
SWIVELS | S-INLINE | MALE O-RING FACE SEAL TO FEMALE O-RING FACE SEAL
MALE O-RING FACE SEAL TO FEMALE O-RING FACE SEAL

Part Number |
T1 |
T2 |
A |
B |
C Hex
(* = Round) |
D Hex
(* = Round) |
E |
Max W.P. |
S6F6-FF6 |
11/16-16UN-2A |
11/16-16UN-2B |
2.62
66.5 mm |
1.90
48.3 mm |
1.00
25.4 mm |
1.00
25.4 mm |
2.24
56.9 mm |
3,000 PSI20.7 MPa |
S6F6-FF8 |
11/16-16UN-2A |
13/16-16UN-2B |
2.62
66.5 mm |
1.90
48.3 mm |
1.00
25.4 mm |
1.00
25.4 mm |
2.19
55.6 mm |
3,000 PSI20.7 MPa |
S6F8-FF6 |
13/16-16UN-2A |
11/16-16UN-2B |
2.62
66.5 mm |
1.90
48.3 mm |
1.00
25.4 mm |
1.00
25.4 mm |
2.24
56.9 mm |
3,000 PSI20.7 MPa |
S6F8-FF8 |
13/16-16UN-2A |
13/16-16UN-2B |
2.62
66.5 mm |
1.90
48.3 mm |
1.00
25.4 mm |
1.00
25.4 mm |
2.18
55.4 mm |
3,000 PSI20.7 MPa |
S8F10-FF10 |
1-14UNS-2A |
1-14UNS-2B |
3.06
77.7 mm |
2.09
53.1 mm |
1.25
31.8 mm |
1.25
31.8 mm |
2.54
64.5 mm |
3,000 PSI20.7 MPa |
S12F12-FF12 |
1-3/16-12UN-2A |
1-3/16-12UN-2B |
3.16
80.3 mm |
2.09
53.1 mm |
1.37
34.8 mm |
1.37
34.8 mm |
2.58
65.5 mm |
3,000 PSI20.7 MPa |
S16F16-FF16 |
1-7/16-12UN-2A |
1-7/16-12UN-2B |
3.89
98.8 mm |
2.75
69.9 mm |
1.75
44.5 mm |
1.75
44.5 mm |
3.30
83.8 mm |
3,000 PSI20.7 MPa |
S20F20-FF20 |
1-11/16-12UN-2A |
1-11/16-12UN-2B |
3.96
100.6 mm |
2.81
71.4 mm |
2.25
57.2 mm |
2.00
50.8 mm |
3.37
85.6 mm |
3,000 PSI20.7 MPa |
S24F24-FF24 |
2-12UN-2A |
2-12UN-2B |
4.36
110.7 mm |
3.22
81.8 mm |
*2.75
69.9 mm |
*2.75
69.9 mm |
3.77
95.8 mm |
3,000 PSI20.7 MPa |
SWIVELS | S-INLINE | MALE O-RING FACE SEAL TO MALE SAE O-RING BOSS
MALE O-RING FACE SEAL TO MALE SAE O-RING BOSS

| Part Number |
T1 |
T2 |
A |
B |
C Hex
(* = Round) |
D Hex
(* = Round) |
E |
Max W.P. |
| S6F6-O6 |
11/16-16UN-2A |
9/16-18UNF-2A |
2.81
71.4 mm |
1.90
48.3 mm |
1.00
25.4 mm |
1.00
25.4 mm |
2.34
59.4 mm |
3,000 PSI20.7 MPa |
| S6F6-O8 |
11/16-16UN-2A |
3/4-16UNF-2A |
2.81
71.4 mm |
1.90
48.3 mm |
1.00
25.4 mm |
1.00
25.4 mm |
2.26
57.4 mm |
3,000 PSI20.7 MPa |
| S6F8-O6 |
13/16-16UN-2A |
9/16-18UNF-2A |
2.81
71.4 mm |
1.90
48.3 mm |
1.00
25.4 mm |
1.00
25.4 mm |
2.34
59.4 mm |
3,000 PSI20.7 MPa |
| S6F8-O8 |
13/16-16UN-2A |
3/4-16UNF-2A |
2.81
71.4 mm |
1.9048.3 mm |
1.00
25.4 mm |
1.00
25.4 mm |
2.26
57.4 mm |
3,000 PSI20.7 MPa |
| S6F8-O10 |
13/16-16UN-2A |
7/8-14UNF-2A |
3.07
78.0 mm |
1.90
48.3 mm |
1.00
25.4 mm |
1.00
25.4 mm |
2.44
62.0 mm |
3,000 PSI20.7 MPa |
| S8F10-O8 |
1-14UNS-2A |
3/4-16UNF-2A |
3.32
84.3 mm |
2.09
53.1 mm |
1.25
31.8 mm |
1.25
31.8 mm |
2.77
70.4 mm |
3,000 PSI20.7 MPa |
| S8F10-O10 |
1-14UNS-2A |
7/8-14UNF-2A |
3.32
84.3 mm |
2.09
53.1 mm |
1.25
31.8 mm |
1.25
31.8 mm |
2.69
68.3 mm |
3,000 PSI20.7 MPa |
| S8F12-O10 |
1 3/16-12UN-2A |
7/8-14UNF-2A |
3.32
84.3 mm |
2.09
53.1 mm |
1.25
31.8 mm |
1.25
31.8 mm |
2.69
68.3 mm |
3,000 PSI20.7 MPa |
| S8F12-O12 |
1-3/16-12UN-2A |
1-1/16-12UN-2A |
3.32
84.3 mm |
2.09
53.1 mm |
1.25
31.8 mm |
1.25
31.8 mm |
2.59
65.8 mm |
3,000 PSI20.7 MPa |
| S12F12-O12 |
1-3/16-12UN-2A |
1-1/16-12UN-2A |
3.32
84.3 mm |
2.09
53.1 mm |
1.37
34.8 mm |
1.37
34.8 mm |
2.59
65.8 mm |
3,000 PSI20.7 MPa |
| S16F16-O16 |
1-7/16-12UN-2A |
1-5/16-12UN-2A |
4.29
109.0 mm |
2.75
69.9 mm |
1.75
44.5 mm |
1.75
44.5 mm |
3.56
90.4 mm |
3,000 PSI20.7 MPa |
| S20F20-O20 |
1-11/16-12UN-2A |
1-5/8-12UN-2A |
4.53
115.1 mm |
2.81
71.4 mm |
2.25
57.2 mm |
2.00
50.8 mm |
3.80
96.5 mm |
3,000 PSI20.7 MPa |
| S24F24-O24 |
2-12UN-2A |
1-7/8-12UN-2A |
5.22
132.6 mm |
3.22
81.8 mm |
*2.75
69.9 mm |
*2.75
69.9 mm |
4.49
114.0 mm |
3,000 PSI20.7 MPa |
SWIVELS | S-INLINE | MALE O-RING FACE SEAL TO MALE PIPE
MALE O-RING FACE SEAL TO MALE PIPE

| Part Number |
T1 |
T2 |
A |
B |
C Hex (* = Round) |
D Hex (* = Round) |
Max W.P. |
| S6F6-P4 |
11/16-16UN-2A |
1/4-18NPTF |
2.76
70.1 mm |
1.90
48.3 mm |
1.00
25.4 mm |
1.00
25.4 mm |
3,000 PSI20.7 MPa |
| S6F6-P6 |
11/16-16UN-2A |
3/8-18NPTF |
2.76
70.1 mm |
1.90
48.3 mm |
1.00
25.4 mm |
1.00
25.4 mm |
3,000 PSI20.7 MPa |
| S6F8-P6 |
13/16-16UN-2A |
3/8-18NPTF |
2.76
70.1 mm |
1.90
48.3 mm |
1.00
25.4 mm |
1.00
25.4 mm |
3,000 PSI20.7 MPa |
| S8F8-P8 |
13/16-16UN-2A |
1/2-14NPTF |
3.20
81.3 mm |
2.09
53.1 mm |
1.25
31.8 mm |
1.25
31.8 mm |
3,000 PSI20.7 MPa |
| S8F10-P8 |
1-14UNS-2A |
1/2-14NPTF |
3.20
81.3 mm |
2.09
53.1 mm |
1.25
31.8 mm |
1.25
31.8 mm |
3,000 PSI20.7 MPa |
| S8F12-P12 |
1-3/16-12UN-2A |
3/4-14NPTF |
3.32
84.3 mm |
2.09
53.1 mm |
1.25
31.8 mm |
1.25
31.8 mm |
3,000 PSI20.7 MPa |
| S16F16-P16 |
1-7/16-12UN-2A |
1-11 1/2NPTF |
4.29
109.0 mm |
2.75
69.9 mm |
1.75
44.5 mm |
1.75
44.5 mm |
3,000 PSI20.7 MPa |
| S20F20-P20 |
1-11/16-12UN-2A |
1 1/4-11 1/2NPTF |
4.58
116.3 mm |
2.81
71.4 mm |
2.25
57.2 mm |
2.25
57.2 mm |
3,000 PSI20.7 MPa |
| S24F24-P24 |
2-12UN-2A |
1 1/2-11 1/2NPTF |
5.27
133.9 mm |
3.22
81.8 mm |
*2.75
69.9 mm |
*2.75
69.9 mm |
3,000 PSI20.7 MPa |
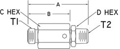
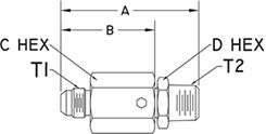
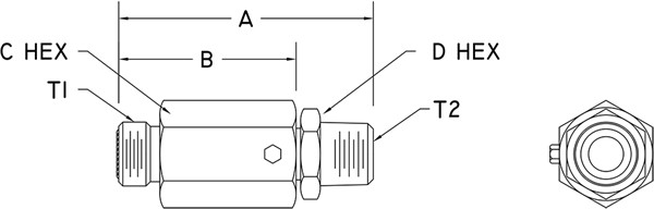
SWIVELS | S-INLINE | MALE JIC TO MALE RING FACE SEAL
MALE JIC TO MALE RING FACE SEAL

| Part Number |
T1 |
T2 |
A |
B |
C Hex (* = Round) |
D Hex (* = Round) |
Max W.P. |
| S6J6-F6 |
9/16-18UNF-2A |
11/16-16UN-2A |
2.68
68.1 mm |
1.77
45.0 mm |
1.00
25.4 mm |
1.00
25.4 mm |
3,000 PSI20.7 MPa |
| S6J8-F8 |
3/4-16UNF-2A |
13/16-16UN-2A |
2.81
71.4 mm |
1.90
48.3 mm |
1.00
25.4 mm |
1.00
25.4 mm |
3,000 PSI20.7 MPa |
| S8J8-F8 |
3/4-16UNF-2A |
13/16-16UN-2A |
3.13
79.5 mm |
1.90
48.3 mm |
1.25
31.8 mm |
1.25
31.8 mm |
3,000 PSI20.7 MPa |
| S8J10-F10 |
7/8-14UNF-2A |
1-14UNS-2A |
3.23
82.0 mm |
2.00
50.8 mm |
1.25
31.8 mm |
1.25
31.8 mm |
3,000 PSI20.7 MPa |
| S8J12-F12 |
1-1/16-12UN-2A |
1-3/16-12UN-2A |
3.32
84.3 mm |
2.09
53.1 mm |
1.25
31.8 mm |
1.25
31.8 mm |
3,000 PSI20.7 MPa |
| S16J16-F16 |
1-5/16-12UN-2A |
1-7/16-12UN-2A |
4.12
104.6 mm |
2.58
65.5 mm |
1.75
44.5 mm |
1.75
44.5 mm |
3,000 PSI20.7 MPa |
| S20J20-F20 |
1-5/8-12UN-2A |
1-11/16-12UN-2A |
4.51
114.6 mm |
2.74
69.6 mm |
2.25
57.2 mm |
2.25
57.2 mm |
3,000 PSI20.7 MPa |
| S24J24-F24 |
1-7/8-12UN-2A |
2-12UN-2A |
5.17
131.3 mm |
3.12
79.2 mm |
*2.75
69.9 mm |
*2.75
69.9 mm |
3,000 PSI20.7 MPa |
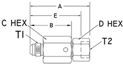
SWIVELS | S-INLINE | MALE JIC TO FEMALE RING FACE SEAL
MALE JIC TO FEMALE RING FACE SEAL
male-jic-to-female-o-ring-face-seal

| Part Number |
T1 |
T2 |
A |
B |
C Hex (* = Round) |
D Hex (* = Round) |
E |
Max W.P. |
| S6J6-FF6 |
9/16-18UNF-2A |
11/16-16UN-2B |
2.49
63.2 mm |
1.77
45.0 mm |
1.00
25.4 mm |
1.00
25.4 mm |
2.11 |
3,000 PSI 20.7 MPa |
| S6J6-FF8 |
9/16-18UNF-2A |
13/16-16UN-2B |
2.49
63.2 mm |
1.77
45.0 mm |
1.00
25.4 mm |
1.00
25.4 mm |
2.05 |
3,000 PSI 20.7 MPa |
| S6J8-FF6 |
3/4-16UNF-2A |
11/16-16UN-2B |
2.62
66.5 mm |
1.90
48.3 mm |
1.00
25.4 mm |
1.00
25.4 mm |
2.24 |
3,000 PSI 20.7 MPa |
| S6J8-FF8 |
3/4-16UNF-2A |
13/16-16UN-2B |
2.62
66.5 mm |
1.90
48.3 mm |
1.00
25.4 mm |
1.00
25.4 mm |
2.18 |
3,000 PSI 20.7 MPa |
| S8J8-FF10 |
3/4-16UNF-2A |
1-14UNS-2B |
2.88
73.2 mm |
1.90
48.3 mm |
1.25
31.8 mm |
1.25
31.8 mm |
2.34 |
3,000 PSI 20.7 MPa |
| S8J10-FF10 |
7/8-14UNF-2A |
1-14UNS-2B |
2.98
75.7 mm |
2.00
50.8 mm |
1.25
31.8 mm |
1.25
31.8 mm |
2.44 |
3,000 PSI 20.7 MPa |
| S8J12-FF10 |
1-1/16-12UN-2A |
1-14UNS-2B |
3.06
77.7 mm |
2.09
53.1 mm |
1.25
31.8 mm |
1.25
31.8 mm |
2.53 |
3,000 PSI 20.7 MPa |
| S12J12-FF12 |
1-1/16-12UN-2A |
1-3/16-12UN-2B |
3.16
80.3 mm |
2.09
53.1 mm |
1.37
34.8 mm |
1.37
34.8 mm |
2.58 |
3,000 PSI 20.7 MPa |
| S16J16-FF16 |
1-5/16-12UN-2A |
1-7/16-12UN-2B |
3.72
94.5 mm |
2.58
65.5 mm |
1.75
44.5 mm |
1.75
44.5 mm |
3.13 |
3,000 PSI 20.7 MPa |
| S20J20-FF20 |
1-5/8-12UN-2A |
1-11/16-12UN-2B |
3.88
98.6 mm |
2.74
69.6 mm |
2.25
57.2 mm |
2.00
50.8 mm |
3.29 |
3,000 PSI 20.7 MPa |
| S24J24-FF24 |
1-7/8-12UN-2A |
2-12UN-2B |
4.26
108.2 mm |
3.12
79.2 mm |
*2.75
69.9 mm |
*2.75
69.9 mm |
3.67 |
3,000 PSI 20.7 MPa |
SWIVELS | S-INLINE | MALE JIC TO FEMALE JIC
MALE JIC TO FEMALE JIC
male-jic-to-female-jic

| Part Number |
T1 |
T2 |
A |
B |
C Hex
(* = Round) |
D Hex
(* = Round) |
Max W.P. |
| S6J6-JF6 |
9/16-18UNF-2A |
9/16-18UNF-2B |
2.37
60.2 mm |
1.77
45.0 mm |
1.00
25.4 mm |
1.00
25.4 mm |
3,000 PSI 20.7 MPa |
| S6J6-JF8 |
9/16-18UNF-2A |
3/4-16UNF-2B |
2.44
62.0 mm |
1.77
45.0 mm |
1.00
25.4 mm |
1.00
25.4 mm |
3,000 PSI 20.7 MPa |
| S6J8-JF6 |
3/4-16UNF-2A |
9/16-18UNF-2B |
2.50
63.5 mm |
1.90
48.3 mm |
1.00
25.4 mm |
1.00
25.4 mm |
3,000 PSI 20.7 MPa |
| S6J8-JF8 |
3/4-16UNF-2A |
3/4-16UNF-2B |
2.57
65.3 mm |
1.90
48.3 mm |
1.00
25.4 mm |
1.00
25.4 mm |
3,000 PSI 20.7 MPa |
| S8J8-JF8 |
3/4-16UNF-2A |
3/4-16UNF-2B |
2.57
65.3 mm |
1.90
48.3 mm |
1.25
31.8 mm |
1.25
31.8 mm |
3,000 PSI 20.7 MPa |
| S8J8-JF10 |
3/4-16UNF-2A |
7/8-14UNF-2B |
2.70
68.6 mm |
1.90
48.3 mm |
1.25
31.8 mm |
1.25
31.8 mm |
3,000 PSI 20.7 MPa |
| S8J8-JF12 |
3/4-16UNF-2A |
1-1/16-12UN-2B |
2.70
68.6 mm |
1.90
48.3 mm |
1.25
31.8 mm |
1.25
31.8 mm |
3,000 PSI 20.7 MPa |
| S8J10-JF8 |
7/8-14UNF-2A |
3/4-16UNF-2B |
2.67
67.8 mm |
2.00
50.8 mm |
1.25
31.8 mm |
1.25
31.8 mm |
3,000 PSI 20.7 MPa |
| S8J10-JF10 |
7/8-14UNF-2A |
7/8-14UNF-2B |
2.80
71.1 mm |
2.00
50.8 mm |
1.25
31.8 mm |
1.25
31.8 mm |
3,000 PSI 20.7 MPa |
| S8J10-JF12 |
7/8-14UNF-2A |
1-1/16-12UN-2B |
2.80
71.1 mm |
2.00
50.8 mm |
1.25
31.8 mm |
1.25
31.8 mm |
3,000 PSI 20.7 MPa |
| S8J12-JF8 |
1-1/16-12UN-2A |
3/4-16UNF-2B |
2.76
70.1 mm |
2.09
53.1 mm |
1.25
31.8 mm |
1.25
31.8 mm |
3,000 PSI 20.7 MPa |
| S8J12-JF10 |
1-1/16-12UN-2A |
7/8-14UNF-2B |
2.89
73.4 mm |
2.09
53.1 mm |
1.25
31.8 mm |
1.25
31.8 mm |
3,000 PSI 20.7 MPa |
| S8J12-JF12 |
1-1/16-12UN-2A |
1-1/16-12UN-2B |
2.89
73.4 mm |
2.09
53.1 mm |
1.25
31.8 mm |
1.25
31.8 mm |
3,000 PSI 20.7 MPa |
| S12J12-JF12 |
1-1/16-12UN-2A |
1-1/16-12UN-2B |
2.89
73.4 mm |
2.09
53.1 mm |
1.3734.8 mm |
1.37
34.8 mm |
3,000 PSI 20.7 MPa |
| S12J14-JF14 |
1-3/16-12UN-2A |
1-3/16-12UN-2B |
2.89
73.4 mm |
2.09
53.1 mm |
1.37
34.8 mm |
1.37
34.8 mm |
3,000 PSI 20.7 MPa |
| S16J16-JF16 |
1-5/16-12UN-2A |
1-5/16-12UN-2B |
3.42
86.9 mm |
2.58
65.5 mm |
1.75
44.5 mm |
1.75
44.5 mm |
3,000 PSI 20.7 MPa |
| S20J20-JF20 |
1-5/8-12UN-2A |
1-5/8-12UN-2B |
3.66
93.0 mm |
2.74
69.6 mm |
2.25
57.2 mm |
2.00
50.8 mm |
3,000 PSI 20.7 MPa |
| S24J24-JF24 |
1-7/8-12UN-2A |
1-7/8-12UN-2B |
4.12
104.6 mm |
3.12
79.2 mm |
*2.75
69.9 mm |
*2.75
69.9 mm |
3,000 PSI 20.7 MPa |
| S32J32-JF32 |
2-1/2-12UN-2A |
2-1/2-12UN-2B |
5.69
144.5 mm |
4.39
111.5 mm |
*3.50
88.9 mm |
*3.50
88.9 mm |
3,000 PSI 20.7 MPa |
SWIVELS | S-INLINE | MALE JIC TO MALE SAE RING BOSS
MALE JIC TO MALE SAE RING BOSS
male-jic-to-male-sae-o-ring-boss

| Part Number |
T1 |
T2 |
A |
B |
C Hex
(* = Round) |
D Hex
(* = Round) |
E |
Max W.P. |
| S6J6-O6 |
9/16-18UNF-2A |
9/16-18UNF-2A |
2.68
68.1 mm |
1.77
45.0 mm |
1.00
25.4 mm |
1.00
25.4 mm |
2.21
56.1 mm |
3,000 PSI 20.7 MPa |
| S6J6-O8 |
9/16-18UNF-2A |
3/4-16UNF-2A |
2.68
68.1 mm |
1.77
45.0 mm |
1.00
25.4 mm |
1.00
25.4 mm |
2.18
55.4 mm |
3,000 PSI 20.7 MPa |
| S6J8-O6 |
3/4-16UNF-2A |
9/16-18UNF-2A |
2.81
71.4 mm |
1.90
48.3 mm |
1.00
25.4 mm |
1.00
25.4 mm |
2.34
59.4 mm |
3,000 PSI 20.7 MPa |
| S6J8-O8 |
3/4-16UNF-2A |
3/4-16UNF-2A |
2.81
71.4 mm |
1.90
48.3 mm |
1.00
25.4 mm |
1.00
25.4 mm |
2.26
57.4 mm |
3,000 PSI 20.7 MPa |
| S8J8-O8 |
3/4-16UNF-2A |
3/4-16UNF-2A |
3.13
79.5 mm |
1.90
48.3 mm |
1.25
31.8 mm |
1.25
31.8 mm |
2.58
65.5 mm |
3,000 PSI 20.7 MPa |
| S8J8-O10 |
3/4-16UNF-2A |
7/8-14UNF-2A |
3.13
79.5 mm |
1.90
48.3 mm |
1.25
31.8 mm |
1.25
31.8 mm |
2.50
63.5 mm |
3,000 PSI 20.7 MPa |
| S8J8-O12 |
3/4-16UNF-2A |
1-1/16-12UN-2A |
3.13
79.5 mm |
1.90
48.3 mm |
1.25
31.8 mm |
1.25
31.8 mm |
2.40
61.0 mm |
3,000 PSI 20.7 MPa |
| S8J10-O8 |
7/8-14UNF-2A |
3/4-16UNF-2A |
3.23
82.0 mm |
2.00
50.8 mm |
1.25
31.8 mm |
1.25
31.8 mm |
2.68
68.1 mm |
3,000 PSI 20.7 MPa |
| S8J10-O10 |
7/8-14UNF-2A |
7/8-14UNF-2A |
3.23
82.0 mm |
2.00
50.8 mm |
1.25
31.8 mm |
1.25
31.8 mm |
2.60
66.0 mm |
3,000 PSI 20.7 MPa |
| S8J10-O12 |
7/8-14UNF-2A |
1-1/16-12UN-2A |
3.23
82.0 mm |
2.00
50.8 mm |
1.25
31.8 mm |
1.25
31.8 mm |
2.50
63.5 mm |
3,000 PSI 20.7 MPa |
| S8J12-O8 |
1-1/16-12UN-2A |
3/4-16UNF-2A |
3.32
84.3 mm |
2.09
53.1 mm |
1.25
31.8 mm |
1.25
31.8 mm |
2.77
70.4 mm |
3,000 PSI 20.7 MPa |
| S8J12-O10 |
1-1/16-12UN-2A |
7/8-14UNF-2A |
3.32
84.3 mm |
2.09
53.1 mm |
1.25
31.8 mm |
1.25
31.8 mm |
2.69
68.3 mm |
3,000 PSI 20.7 MPa |
| S8J12-O12 |
1-1/16-12UN-2A |
1-1/16-12UN-2A |
3.32
84.3 mm |
2.09
53.1 mm |
1.25
31.8 mm |
1.25
31.8 mm |
2.59
65.8 mm |
3,000 PSI 20.7 MPa |
| S16J16-O16 |
1-5/16-12UN-2A |
1-5/16-12UN-2A |
4.12
104.6 mm |
2.58
65.5 mm |
1.75
44.5 mm |
1.75
44.5 mm |
3.39
86.1 mm |
3,000 PSI 20.7 MPa |
| S20J20-O20 |
1-5/8-12UN-2A |
1-5/8-12UN-2A |
4.46
113.3 mm |
2.74
69.6 mm |
2.25
57.2 mm |
2.00
50.8 mm |
3.73
94.7 mm |
3,000 PSI 20.7 MPa |
| S24J24-O24 |
1-7/8-12UN-2A |
1-7/8-12UN-2A |
5.12
130.0 mm |
3.12
79.2 mm |
*2.75
69.9 mm |
*2.75
69.9 mm |
4.39
111.5 mm |
3,000 PSI 20.7 MPa |
| S32J32-O32 |
2-1/2-12UN-2A |
2-1/2-12UN-2A |
6.971
77.0 mm |
4.39
111.5 mm |
*3.50
88.9 mm |
*3.50
88.9 mm |
6.24
158.5 mm |
3,000 PSI 20.7 MPa |
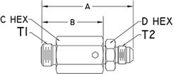
SWIVELS | S-INLINE | MALE JIC TO MALE PIPE
MALE JIC TO MALE PIPE
male-jic-to-male-pipe

| Part Number |
T1 |
T2 |
A |
B |
C Hex (* = Round) |
D Hex (* = Round) |
Max W.P. |
| S6J6-P4 |
9/16-18UNF-2A |
1/4-18NPTF |
2.63
66.8 mm |
1.77
45.0 mm |
1.00
25.4 mm |
1.00
25.4 mm |
3,000 PSI 20.7 MPa |
| S6J6-P6 |
9/16-18UNF-2A |
3/8-18NPTF |
2.63
66.8 mm |
1.77
45.0 mm |
1.00
25.4 mm |
1.00
25.4 mm |
3,000 PSI 20.7 MPa |
| S6J8-P4 |
3/4-16UNF-2A |
1/4-18NPTF |
2.76
70.1 mm |
1.90
48.3 mm |
1.00
25.4 mm |
1.00
25.4 mm |
3,000 PSI 20.7 MPa |
| S6J8-P6 |
3/4-16UNF-2A |
3/8-18NPTF |
2.76
70.1 mm |
1.90
48.3 mm |
1.00
25.4 mm |
1.00
25.4 mm |
3,000 PSI 20.7 MPa |
| S8J8-P8 |
3/4-16UNF-2A |
1/2-14NPTF |
3.01
76.5 mm |
1.90
48.3 mm |
1.25
31.8 mm |
1.25
31.8 mm |
3,000 PSI 20.7 MPa |
| S8J8-P12 |
3/4-16UNF-2A |
3/4-14NPTF |
3.13
79.5 mm |
1.90
48.3 mm |
1.25
31.8 mm |
1.25
31.8 mm |
3,000 PSI 20.7 MPa |
| S8J10-P8 |
7/8-14UNF-2A |
1/2-14NPTF |
3.11
79.0 mm |
2.00
50.8 mm |
1.25
31.8 mm |
1.25
31.8 mm |
3,000 PSI 20.7 MPa |
| S8J10-P12 |
7/8-14UNF-2A |
3/4-14NPTF |
3.23
82.0 mm |
2.00
50.8 mm |
1.25
31.8 mm |
1.25
31.8 mm |
3,000 PSI 20.7 MPa |
| S8J12-P8 |
1-1/16-12UN-2A |
1/2-14NPTF |
3.20
81.3 mm |
2.09
53.1 mm |
1.25
31.8 mm |
1.25
31.8 mm |
3,000 PSI 20.7 MPa |
| S8J12-P12 |
1-1/16-12UN-2A |
3/4-14NPTF |
3.32
84.3 mm |
2.09
53.1 mm |
1.25
31.8 mm |
1.25
31.8 mm |
3,000 PSI 20.7 MPa |
| S16J16-P16 |
1-5/16-12UN-2A |
1-11 1/2NPTF |
4.12104.6 mm |
2.5865.5 mm |
1.7544.5 mm |
1.7544.5 mm |
3,000 PSI 20.7 MPa |
| S20J20-P20 |
1-5/8-12UN-2A |
1 1/4-11 1/2NPTF |
4.51
114.6 mm |
2.74
69.6 mm |
2.25
57.2 mm |
2.00
50.8 mm |
3,000 PSI 20.7 MPa |
| S24J24-P24 |
1-7/8-12UN-2A |
1 1/2-11 1/2NPTF |
5.17131.3 mm |
3.12
79.2 mm |
*2.75
69.9 mm |
*2.75
69.9 mm |
3,000 PSI 20.7 MPa |
| S32J32-P32 |
2-1/2-12UN-2A |
2-11 1/2NPTF |
6.97
177.0 mm |
4.39
111.5 mm |
*3.50
88.9 mm |
*3.50
88.9 mm |
3,000 PSI 20.7 MPa |
SWIVELS | S-INLINE | MALE JIC TO FEMALE PIPE
MALE JIC TO FEMALE PIPE
male-jic-to-female-pipe

| Part Number |
T1 |
T2 |
A |
B |
C Hex (* = Round) |
D Hex(* = Round) |
Max W.P. |
| S6J6-PF4 |
9/16-18 UNF-2A |
1/4-18 NPTF |
2.68 68.1 mm |
1.77 45.0 mm |
1.00 25.4 mm |
1.00 25.4 mm |
3,000 PSI 20.7 MPa |
| S6J6-PF6 |
9/16-18 UNF-2A |
3/8-18 NPTF |
2.68 68.1 mm |
1.77 45.0 mm |
1.00 25.4 mm |
1.00 25.4 mm |
3,000 PSI 20.7 MPa |
| S6J8-PF4 |
3/4-16 UNF-2A |
1/4-18 NPTF |
2.81 71.4 mm |
1.90 48.3 mm |
1.00 25.4 mm |
1.00 25.4 mm |
3,000 PSI 20.7 MPa |
| S6J8-PF6 |
3/4-16 UNF-2A |
3/8-18 NPTF |
2.81 71.4 mm |
1.90 48.3 mm |
1.00 25.4 mm |
1.00 25.4 mm |
3,000 PSI 20.7 MPa |
| S8J8-PF8 |
3/4-16 UNF-2A |
1/2-14 NPTF |
3.13 79.5 mm |
1.90 48.3 mm |
1.25 31.8 mm |
1.25 31.8 mm |
3,000 PSI 20.7 MPa |
| S8J8-PF12 |
3/4-16 UNF-2A |
3/4-14 NPTF |
3.13 79.5 mm |
1.90 48.3 mm |
1.25 31.8 mm |
1.25 31.8 mm |
3,000 PSI 20.7 MPa |
| S8J10-PF8 |
7/8-14 UNF-2A |
1/2-14 NPTF |
3.23 82.0 mm |
2.00 50.8 mm |
1.25 31.8 mm |
1.25 31.8 mm |
3,000 PSI 20.7 MPa |
| S8J10-PF12 |
7/8-14 UNF-2A |
3/4-14 NPTF |
3.23 82.0 mm |
2.00 50.8 mm |
1.25 31.8 mm |
1.25 31.8 mm |
3,000 PSI 20.7 MPa |
| S8J12-PF8 |
1-1/16-12 UN-2A |
1/2-14 NPTF |
3.32 84.3 mm |
2.09 53.1 mm |
1.25 31.8 mm |
1.25 31.8 mm |
3,000 PSI 20.7 MPa |
| S8J12-PF12 |
1-1/16-12 UN-2A |
3/4-14 NPTF |
3.32 84.3 mm |
2.09 53.1 mm |
1.25 31.8 mm |
1.25 31.8 mm |
3,000 PSI 20.7 MPa |
| S16J16-PF16 |
1-5/16-12 UN-2A |
1-11 1/2 NPTF |
3.77 95.8 mm |
2.58 65.5 mm |
1.75 44.5 mm |
1.75 44.5 mm |
3,000 PSI 20.7 MPa |
| S20J20-PF20 |
1-5/8-12 UN-2A |
1 1/4-11 1/2 NPTF |
4.10 104.1 mm |
2.74 69.6 mm |
2.25 57.2 mm |
2.00 50.8 mm |
3,000 PSI 20.7 MPa |
| S24J24-PF24 |
1-7/8-12 UN-2A |
1 1/2-11 1/2 NPTF |
5.17 131.3 mm |
3.12 79.2 mm |
*2.75 69.9 mm |
*2.75 69.9 mm |
3,000 PSI 20.7 MPa |
| S32J32-PF32 |
2-1/2-12 UN-2A |
2-11 1/2 NPTF |
6.17 156.7 mm |
4.39 111.5 mm |
*3.50 88.9 mm |
*3.50 88.9 mm |
3,000 PSI 20.7 MPa |
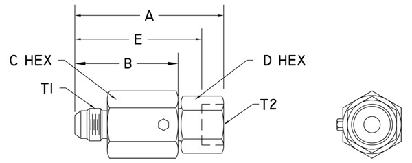
SWIVELS | S-INLINE | FEMALE PIPE TO MALE RING FACE SEAL
FEMALE PIPE TO MALE RING FACE SEAL
female-pipe-to-male-o-ring-face-seal

| Part Number |
T1 |
T2 |
A |
B |
C Hex (* = Round) |
D Hex(* = Round) |
Max W.P. |
| S6PF4-F6 |
1/4-18 NPTF |
11/16-16 UN-2A |
2.46 62.5 mm |
1.55 39.4 mm |
1.00 25.4 mm |
1.00 25.4 mm |
3,000 PSI 20.7 MPa |
| S6PF6-F6 |
3/8-18 NPTF |
11/16-16 UN-2A |
2.46 62.5 mm |
1.55 39.4 mm |
1.00 25.4 mm |
1.00 25.4 mm |
3,000 PSI 20.7 MPa |
| S6PF6-F8 |
3/8-18 NPTF |
13/16-16 UN-2A |
2.46 62.5 mm |
1.55 39.4 mm |
1.00 25.4 mm |
1.00 25.4 mm |
3,000 PSI 20.7 MPa |
| S8PF8-F8 |
1/2-14 NPTF |
13/16-16 UN-2A |
3.00 76.2 mm |
1.77 45.0 mm |
1.25 31.8 mm |
1.25 31.8 mm |
3,000 PSI 20.7 MPa |
| S8PF8-F10 |
1/2-14 NPTF |
1-14 UNS-2A |
3.00 76.2 mm |
1.77 45.0 mm |
1.25 31.8 mm |
1.25 31.8 mm |
3,000 PSI 20.7 MPa |
| S8PF12-F12 |
3/4-14 NPTF |
1-3/16-12 UN-2A |
3.00 76.2 mm |
1.77 45.0 mm |
1.25 31.8 mm |
1.25 31.8 mm |
3,000 PSI 20.7 MPa |
| S16PF16-F16 |
1-11 1/2 NPTF |
1-7/16-12 UN-2A |
3.91 99.3 mm |
2.37 60.2 mm |
1.75 44.5 mm |
1.75 44.5 mm |
3,000 PSI 20.7 MPa |
| S20PF20-F20 |
1 1/4-11 1/2 NPTF |
1-11/16-12 UN-2A |
4.37 111.0 mm |
2.60 66.0 mm |
2.25 57.2 mm |
2.00 50.8 mm |
3,000 PSI 20.7 MPa |
| S24PF24-F24 |
1 1/2-11 1/2 NPTF |
2-12 UN-2A |
5.27 133.9 mm |
3.22 81.8 mm |
*2.75 69.9 mm |
*2.75 69.9 mm |
3,000 PSI 20.7 MPa |
SWIVELS | S-INLINE | FEMALE PIPE TO FEMALE O-RING FACE SEAL
FEMALE PIPE TO FEMALE O-RING FACE SEAL
female-pipe-to-female-o-ring-face-seal

| Part Number |
T1 |
T2 |
A |
B |
C Hex(* = Round) |
D Hex(* = Round) |
E |
Max W.P. |
| S6PF4-FF6 |
1/4-18 NPTF |
11/16-16 UN-2B |
2.27 57.7 mm |
1.55 39.4 mm |
1.00 25.4 mm |
1.00 25.4 mm |
1.89 |
3,000 PSI 20.7 MPa |
| S6PF4-FF8 |
1/4-18 NPTF |
13/16-16 UN-2B |
2.27 57.7 mm |
1.55 39.4 mm |
1.00 25.4 mm |
1.00 25.4 mm |
1.83 |
3,000 PSI 20.7 MPa |
| S6PF6-FF6 |
3/8-18 NPTF |
11/16-16 UN-2B |
2.27 57.7 mm |
1.55 39.4 mm |
1.00 25.4 mm |
1.00 25.4 mm |
1.89 |
3,000 PSI 20.7 MPa |
| S6PF6-FF8 |
3/8-18 NPTF |
13/16-16 UN-2B |
2.27 57.7 mm |
1.55 39.4 mm |
1.00 25.4 mm |
1.00 25.4 mm |
1.83 |
3,000 PSI 20.7 MPa |
| S8PF8-FF10 |
1/2-14 NPTF |
1-14 UNS-2B |
2.75 69.9 mm |
1.77 45.0 mm |
1.25 31.8 mm |
1.25 31.8 mm |
2.21 |
3,000 PSI 20.7 MPa |
| S8PF12-FF10 |
3/4-14 NPTF |
1-14 UNS-2B |
2.75 69.9 mm |
1.77 45.0 mm |
1.25 31.8 mm |
1.25 31.8 mm |
2.21 |
3,000 PSI 20.7 MPa |
| S16PF16-FF16 |
1-11 1/2 NPTF |
1-7/16-12 UN-2B |
3.51 89.2 mm |
2.37 60.2 mm |
1.75 44.5 mm |
1.75 44.5 mm |
2.92 |
3,000 PSI 20.7 MPa |
| S20PF20-FF20 |
1 1/4-11 1/2 NPTF |
1-11/16-12 UN-2B |
3.75 95.3 mm |
2.60 66.0 mm |
2.25 57.2 mm |
2.00 50.8 mm |
3.16 |
3,000 PSI 20.7 MPa |
| S24PF24-FF24 |
1 1/2-11 1/2 NPTF |
2-12 UN-2B |
4.36 110.7 mm |
3.22 81.8 mm |
*2.75 69.9 mm |
*2.75 69.9 mm |
3.77 |
3,000 PSI 20.7 MPa |
SWIVELS | S-INLINE | FEMALE PIPE TO FEMALE JIC
FEMALE PIPE TO FEMALE JIC
female-pipe-to-female-jic

| Part Number |
T1 |
T2 |
A |
B |
C Hex
(* = Round) |
D Hex
(* = Round) |
Max W.P. |
| S6PF4-JF6 |
1/4-18 NPTF |
9/16-18 UNF-2B |
2.15 54.6 mm |
1.55 39.4 mm |
1.00 25.4 mm |
1.00 25.4 mm |
3,000 PSI 20.7 MPa |
| S6PF4-JF8 |
1/4-18 NPTF |
3/4-16 UNF-2B |
2.22 56.4 mm |
1.55 39.4 mm |
1.00 25.4 mm |
1.00 25.4 mm |
3,000 PSI 20.7 MPa |
| S6PF6-JF6 |
3/8-18 NPTF |
9/16-18 UNF-2B |
2.15 54.6 mm |
1.55 39.4 mm |
1.00 25.4 mm |
1.00 25.4 mm |
3,000 PSI 20.7 MPa |
| S6PF6-JF8 |
3/8-18 NPTF |
3/4-16 UNF-2B |
2.22 56.4 mm |
1.55 39.4 mm |
1.00 25.4 mm |
1.00 25.4 mm |
3,000 PSI 20.7 MPa |
| S8PF8-JF8 |
1/2-14 NPTF |
3/4-16 UNF-2B |
2.44 62.0 mm |
1.77 45.0 mm |
1.25 31.8 mm |
1.25 31.8 mm |
3,000 PSI 20.7 MPa |
| S8PF8-JF10 |
1/2-14 NPTF |
7/8-14 UNF-2B |
2.57 65.3 mm |
1.77 45.0 mm |
1.25 31.8 mm |
1.25 31.8 mm |
3,000 PSI 20.7 MPa |
| S8PF8-JF12 |
1/2-14 NPTF |
1-1/16-12 UN-2B |
2.57 65.3 mm |
1.77 45.0 mm |
1.25 31.8 mm |
1.25 31.8 mm |
3,000 PSI 20.7 MPa |
| S8PF12-JF8 |
3/4-14 NPTF |
3/4-16 UNF-2B |
2.44 62.0 mm |
1.77 45.0 mm |
1.25 31.8 mm |
1.25 31.8 mm |
3,000 PSI 20.7 MPa |
| S8PF12-JF10 |
3/4-14 NPTF |
7/8-14 UNF-2B |
2.57 65.3 mm |
1.77 45.0 mm |
1.25 31.8 mm |
1.25 31.8 mm |
3,000 PSI 20.7 MPa |
| S8PF12-JF12 |
3/4-14 NPTF |
1-1/16-12 UN-2B |
2.57 65.3 mm |
1.77 45.0 mm |
1.25 31.8 mm |
1.25 31.8 mm |
3,000 PSI 20.7 MPa |
| S16PF16-JF16 |
1-11 1/2 NPTF |
1-5/16-12 UN-2B |
3.21 81.5 mm |
2.37 60.2 mm |
1.75 44.5 mm |
1.75 44.5 mm |
3,000 PSI 20.7 MPa |
| S20PF20-JF20 |
1 1/4-11 1/2 NPTF |
1-5/8-12 UN-2B |
3.52 89.4 mm |
2.60 66.0 mm |
2.25 57.2 mm |
2.00 50.8 mm |
3,000 PSI 20.7 MPa |
| S24PF24-JF24 |
1 1/2-11 1/2 NPTF |
1-7/8-12 UN-2B |
4.22 107.2 mm |
3.22 81.8 mm |
*2.75 69.9 mm |
*2.75 69.9 mm |
3,000 PSI 20.7 MPa |
| S32PF32-JF32 |
2-11 1/2 NPTF |
2-1/2-12 UN-2B |
5.62 142.7 mm |
4.32 109.7 mm |
*3.50 88.9 mm |
*3.50 88.9 mm |
3,000 PSI 20.7 MPa |
SWIVELS | S-INLINE | FEMALE PIPE TO MALE SAE O-RING BOSS
FEMALE PIPE TO MALE SAE O-RING BOSS
female-pipe-to-male-sae-o-ring-boss
| Part Number |
T1 |
T2 |
A |
B |
C Hex(* = Round) |
D (* = Round) |
E |
Max W.P. |
| S6PF4-O6 |
1/4-18 NPTF |
9/16-18 UNF-2A |
2.46 62.5 mm |
1.55 39.4 mm |
1.00 25.4 mm |
1.00 25.4 mm |
1.99 50.5 mm |
3,000 PSI 20.7 MPa |
| S6PF4-O8 |
1/4-18 NPTF |
3/4-16 UNF-2A |
2.46 62.5 mm |
1.55 39.4 mm |
1.00 25.4 mm |
1.00 25.4 mm |
1.91 48.5 mm |
3,000 PSI 20.7 MPa |
| S6PF6-O6 |
3/8-18 NPTF |
9/16-18 UNF-2A |
2.46 62.5 mm |
1.55 39.4 mm |
1.00 25.4 mm |
1.00 25.4 mm |
1.99 50.5 mm |
3,000 PSI 20.7 MPa |
| S6PF6-O8 |
3/8-18 NPTF |
3/4-16 UNF-2A |
2.46 62.5 mm |
1.55 39.4 mm |
1.00 25.4 mm |
1.00 25.4 mm |
1.91 48.5 mm |
3,000 PSI 20.7 MPa |
| S8PF8-O8 |
1/2-14 NPTF |
3/4-16 UNF-2A |
3.00 76.2 mm |
1.77 45.0 mm |
1.25 31.8 mm |
1.25 31.8 mm |
2.45 62.2 mm |
3,000 PSI 20.7 MPa |
| S8PF8-O10 |
1/2-14 NPTF |
7/8-14 UNF-2A |
3.00 76.2 mm |
1.77 45.0 mm |
1.25 31.8 mm |
1.25 31.8 mm |
2.37 60.2 mm |
3,000 PSI 20.7 MPa |
| S8PF8-O12 |
1/2-14 NPTF |
1-1/16-12 UN-2A |
3.00 76.2 mm |
1.77 45.0 mm |
1.25 31.8 mm |
1.25 31.8 mm |
2.27 57.7 mm |
3,000 PSI 20.7 MPa |
| S8PF12-O8 |
3/4-14 NPTF |
3/4-16 UNF-2A |
3.00 76.2 mm |
1.77 45.0 mm |
1.25 31.8 mm |
1.25 31.8 mm |
2.45 62.2 mm |
3,000 PSI 20.7 MPa |
| S8PF12-O10 |
3/4-14 NPTF |
7/8-14 UNF-2A |
3.00 76.2 mm |
1.77 45.0 mm |
1.25 31.8 mm |
1.25 31.8 mm |
2.37 60.2 mm |
3,000 PSI 20.7 MPa |
| S8PF12-O12 |
3/4-14 NPTF |
1-1/16-12 UN-2A |
3.00 76.2 mm |
1.77 45.0 mm |
1.25 31.8 mm |
1.25 31.8 mm |
2.27 57.7 mm |
3,000 PSI 20.7 MPa |
| S16PF16-O16 |
1-11 1/2 NPTF |
1-5/16-12 UN-2A |
3.91 99.3 mm |
2.37 60.2 mm |
1.75 44.5 mm |
1.75 44.5 mm |
3.18 80.8 mm |
3,000 PSI 20.7 MPa |
| S20PF20-O20 |
1 1/4-11 1/2 NPTF |
1-5/8-12 UN-2A |
4.32 109.7 mm |
2.60 66.0 mm |
2.25 57.2 mm |
2.00 50.8 mm |
3.59 91.2 mm |
3,000 PSI 20.7 MPa |
| S24PF24-O24 |
1 1/2-11 1/2 NPTF |
1-7/8-12 UN-2A |
5.22 132.6 mm |
3.22 81.8 mm |
*2.75 69.9 mm |
*2.75 69.9 mm |
4.49 114.0 mm |
3,000 PSI 20.7 MPa |
| S32PF32-O32 |
2-11 1/2 NPTF |
2-1/2-12 UN-2A |
6.88 174.8 mm |
4.31 109.5 mm |
*3.50 88.9 mm |
*3.50 88.9 mm |
6.16 156.5 mm |
3,000 PSI 20.7 MPa |
SWIVELS | S-INLINE | FEMALE PIPE TO MALE PIPE
FEMALE PIPE TO MALE PIPE
female-pipe-to-male-pipe

| Part Number |
T1 |
T2 |
A |
B |
C Hex(* = Round) |
D Hex(* = Round) |
Max W.P. |
| S6PF4-P4 |
1/4-18 NPTF |
1/4-18 NPTF |
2.41 61.2 mm |
1.55 39.4 mm |
1.00 25.4 mm |
1.00 25.4 mm |
3,000 PSI 20.7 MPa |
| S6PF4-P6 |
1/4-18 NPTF |
3/8-18 NPTF |
2.41 61.2 mm |
1.55 39.4 mm |
1.00 25.4 mm |
1.00 25.4 mm |
3,000 PSI 20.7 MPa |
| S6PF6-P4 |
3/8-18 NPTF |
1/4-18 NPTF |
2.41 61.2 mm |
1.55 39.4 mm |
1.00 25.4 mm |
1.00 25.4 mm |
3,000 PSI 20.7 MPa |
| S6PF6-P6 |
3/8-18 NPTF |
3/8-18 NPTF |
2.41 61.2 mm |
1.55 39.4 mm |
1.00 25.4 mm |
1.00 25.4 mm |
3,000 PSI 20.7 MPa |
| S8PF8-P8 |
1/2-14 NPTF |
1/2-14 NPTF |
2.88 73.2 mm |
1.77 45.0 mm |
1.25 31.8 mm |
1.25 31.8 mm |
3,000 PSI 20.7 MPa |
| S8PF8-P12 |
1/2-14 NPTF |
3/4-14 NPTF |
3.00 76.2 mm |
1.77 45.0 mm |
1.25 31.8 mm |
1.25 31.8 mm |
3,000 PSI 20.7 MPa |
| S8PF12-P8 |
3/4-14 NPTF |
1/2-14 NPTF |
2.88 73.2 mm |
1.77 45.0 mm |
1.25 31.8 mm |
1.25 31.8 mm |
3,000 PSI 20.7 MPa |
| S8PF12-P12 |
3/4-14 NPTF |
3/4-14 NPTF |
3.00 76.2 mm |
1.77 45.0 mm |
1.25 31.8 mm |
1.25 31.8 mm |
3,000 PSI 20.7 MPa |
| S16PF16-P16 |
1-11 1/2 NPTF |
1-11 1/2 NPTF |
3.91 99.3 mm |
2.37 60.2 mm |
1.75 44.5 mm |
1.75 44.5 mm |
3,000 PSI 20.7 MPa |
| S20PF20-P20 |
1 1/4-11 1/2 NPTF |
1 1/4-11 1/2 NPTF |
4.37 111.0 mm |
2.60 66.0 mm |
2.25 57.2 mm |
2.00 50.8 mm |
3,000 PSI 20.7 MPa |
| S24PF24-P24 |
1 1/2-11 1/2 NPTF |
1 1/2-11 1/2 NPTF |
5.27 133.9 mm |
3.22 81.8 mm |
*2.75 69.9 mm |
*2.75 69.9 mm |
3,000 PSI 20.7 MPa |
| S32PF32-P32 |
2-11 1/2 NPTF |
2-11 1/2 NPTF |
6.88 174.8 mm |
4.31 109.5 mm |
*3.50 88.9 mm |
*3.50 88.9 mm |
3,000 PSI 20.7 MPa |
SWIVELS | S-INLINE | FEMALE PIPE TO FEMALE PIPE
FEMALE PIPE TO FEMALE PIPE
female-pipe-to-female-pipe

| Part Number |
T1 |
T2 |
A |
B |
C Hex(* = Round) |
D Hex(* = Round) |
Max W.P. |
| S6PF4-PF4 |
1/4-18 NPTF |
1/4-18 NPTF |
2.46 62.5 mm |
1.55 39.4 mm |
1.00 25.4 mm |
1.00 25.4 mm |
3,000 PSI 20.7 MPa |
| S6PF4-PF6 |
1/4-18 NPTF |
3/8-18 NPTF |
2.46 62.5 mm |
1.55 39.4 mm |
1.00 25.4 mm |
1.00 25.4 mm |
3,000 PSI 20.7 MPa |
| S6PF6-PF4 |
3/8-18 NPTF |
1/4-18 NPTF |
2.46 62.5 mm |
1.55 39.4 mm |
1.00 25.4 mm |
1.00 25.4 mm |
3,000 PSI 20.7 MPa |
| S6PF6-PF6 |
3/8-18 NPTF |
3/8-18 NPTF |
2.46 62.5 mm |
1.55 39.4 mm |
1.00 25.4 mm |
1.00 25.4 mm |
3,000 PSI 20.7 MPa |
| S8PF8-PF8 |
1/2-14 NPTF |
1/2-14 NPTF |
3.00 76.2 mm |
1.77 45.0 mm |
1.25 31.8 mm |
1.25 31.8 mm |
3,000 PSI 20.7 MPa |
| S8PF8-PF12 |
1/2-14 NPTF |
3/4-14 NPTF |
3.00 76.2 mm |
1.77 45.0 mm |
1.25 31.8 mm |
1.25 31.8 mm |
3,000 PSI 20.7 MPa |
| S8PF12-PF8 |
3/4-14 NPTF |
1/2-14 NPTF |
3.00 76.2 mm |
1.77 45.0 mm |
1.25 31.8 mm |
1.25 31.8 mm |
3,000 PSI 20.7 MPa |
| S8PF12-PF12 |
3/4-14 NPTF |
3/4-14 NPTF |
3.00 76.2 mm |
1.77 45.0 mm |
1.25 31.8 mm |
1.25 31.8 mm |
3,000 PSI 20.7 MPa |
| S16PF16-PF16 |
1-11 1/2 NPTF |
1-11 1/2 NPTF |
3.56 90.4 mm |
2.37 60.2 mm |
1.75 44.5 mm |
1.75 44.5 mm |
3,000 PSI 20.7 MPa |
| S20PF20-PF20 |
1 1/4-11 1/2 NPTF |
1 1/4-11 1/2 NPTF |
3.96 100.6 mm |
2.60 66.0 mm |
2.25 57.2 mm |
2.00 50.8 mm |
3,000 PSI 20.7 MPa |
| S24PF24-PF24 |
1 1/2-11 1/2 NPTF |
1 1/2-11 1/2 NPTF |
5.27 133.9 mm |
3.22 81.8 mm |
*2.75 69.9 mm |
*2.75 69.9 mm |
3,000 PSI 20.7 MPa |
| S32PF32-PF32 |
2-11 1/2 NPTF |
2-11 1/2 NPTF |
6.08 154.4 mm |
4.31 109.5 mm |
*3.50 88.9 mm |
*3.50 88.9 mm |
3,000 PSI 20.7 MPa |
SWIVELS | S-INLINE | MALE JIC TO MALE JIC
MALE JIC TO MALE JIC
male-jic-to-male-jic

| Part Number |
T1 |
T2 |
A |
B |
C Hex(* = Round) |
D Hex(* = Round) |
Max W.P. |
| S6J6-J6 |
9/16-18 UNF-2A |
9/16-18 UNF-2A |
2.68 68.1 mm |
1.77 45.0 mm |
1.00 25.4 mm |
1.00 25.4 mm |
3,000 PSI 20.7 MPa |
| S6J8-J8 |
3/4-16 UNF-2A |
3/4-16 UNF-2A |
3.06 77.7 mm |
1.90 48.3 mm |
1.00 25.4 mm |
1.00 25.4 mm |
3,000 PSI 20.7 MPa |
| S8J8-J8 |
3/4-16 UNF-2A |
3/4-16 UNF-2A |
3.13 79.5 mm |
1.90 48.3 mm |
1.25 31.8 mm |
1.25 31.8 mm |
3,000 PSI 20.7 MPa |
| S8J10-J10 |
7/8-14 UNF-2A |
7/8-14 UNF-2A |
3.23 82.0 mm |
2.00 50.8 mm |
1.25 31.8 mm |
1.25 31.8 mm |
3,000 PSI 20.7 MPa |
| S8J12-J12 |
1-1/16-12 UN-2A |
1-1/16-12 UN-2A |
3.50 88.9 mm |
2.09 53.1 mm |
1.25 31.8 mm |
1.25 31.8 mm |
3,000 PSI 20.7 MPa |
| S12J12-J12 |
1-1/16-12 UN-2A |
1-1/16-12 UN-2A |
3.50 88.9 mm |
2.09 53.1 mm |
1.37 34.8 mm |
1.37 34.8 mm |
3,000 PSI 20.7 MPa |
| S16J16-J16 |
1-5/16-12 UN-2A |
1-5/16-12 UN-2A |
4.12 104.6 mm |
2.58 65.5 mm |
1.75 44.5 mm |
1.75 44.5 mm |
3,000 PSI 20.7 MPa |
| S20J20-J20 |
1-5/8-12 UN-2A |
1-5/8-12 UN-2A |
4.51 114.6 mm |
2.74 69.6 mm |
2.25 57.2 mm |
2.00 50.8 mm |
3,000 PSI 20.7 MPa |
| S24J24-J24 |
1-7/8-12 UN-2A |
1-7/8-12 UN-2A |
5.17 131.3 mm |
3.12 79.2 mm |
*2.75 69.9 mm |
*2.75 69.9 mm |
3,000 PSI 20.7 MPa |
| S32J32-J32 |
2-1/2-12 UN-2A |
2-1/2-12 UN-2A |
6.97 177.0 mm |
4.39 111.5 mm |
*3.50 88.9 mm |
*3.50 88.9 mm |
3,000 PSI 20.7 MPa |
SWIVELS | S-INLINE | MALE O-RING FACE SEAL TO MALE JIC
MALE O-RING FACE SEAL TO MALE JIC
male-o-ring-face-seal-to-male-jic

| Part Number |
T1 |
T2 |
A |
B |
C Hex(* = Round) |
D Hex(* = Round) |
Max W.P. |
| S6F6-J6 |
11/16-16 UN-2A |
9/16-18 UNF-2A |
2.81 71.4 mm |
1.90 48.3 mm |
1.00 25.4 mm |
1.00 25.4 mm |
3,000 PSI 20.7 MPa |
| S6F6-J8 |
11/16-16 UN-2A |
3/4-16 UNF-2A |
3.07 78.0 mm |
1.90 48.3 mm |
1.00 25.4 mm |
1.00 25.4 mm |
3,000 PSI 20.7 MPa |
| S6F8-J8 |
13/16-16 UN-2A |
3/4-16 UNF-2A |
3.06 77.7 mm |
1.90 48.3 mm |
1.00 25.4 mm |
1.00 25.4 mm |
3,000 PSI 20.7 MPa |
| S6F8-J6 |
13/16-16 UN-2A |
9/16-18 UNF-2A |
2.81 71.4 mm |
1.90 48.3 mm |
1.00 25.4 mm |
1.00 25.4 mm |
3,000 PSI 20.7 MPa |
| S8F8-J8 |
13/16-16 UN-2A |
3/4-16 UNF-2A |
3.32 84.3 mm |
2.09 53.1 mm |
1.25 31.8 mm |
1.25 31.8 mm |
3,000 PSI 20.7 MPa |
| S8F10-J8 |
1-14 UNS-2A |
3/4-16 UNF-2A |
3.32 84.3 mm |
2.09 53.1 mm |
1.25 31.8 mm |
1.25 31.8 mm |
3,000 PSI 20.7 MPa |
| S8F10-J10 |
1-14 UNS-2A |
7/8-14 UNF-2A |
3.32 84.3 mm |
2.09 53.1 mm |
1.25 31.8 mm |
1.25 31.8 mm |
3,000 PSI 20.7 MPa |
| S8F12-J12 |
1-3/16-12 UN-2A |
1-1/16-12 UN-2A |
3.50 88.9 mm |
2.09 53.1 mm |
1.25 31.8 mm |
1.25 31.8 mm |
3,000 PSI 20.7 MPa |
| S12F12-J12 |
1-3/16-12 UN-2A |
1-1/16-12 UN-2A |
3.50 88.9 mm |
2.09 53.1 mm |
1.37 34.8 mm |
1.37 34.8 mm |
3,000 PSI 20.7 MPa |
| S16F16-J16 |
1-7/16-12 UN-2A |
1-5/16-12 UN-2A |
4.29 109.0 mm |
2.75 69.9 mm |
1.75 44.5 mm |
1.75 44.5 mm |
3,000 PSI 20.7 MPa |
| S20F20-J20 |
1-11/16-12 UN-2A |
1-5/8-12 UN-2A |
4.58 116.3 mm |
2.81 71.4 mm |
2.25 57.2 mm |
2.00 50.8 mm |
3,000 PSI 20.7 MPa |
| S24F24-J24 |
2-12 UN-2A |
1-7/8-12 UN-2A |
5.27 133.9 mm |
3.22 81.8 mm |
*2.75 69.9 mm |
*2.75 69.9 mm |
3,000 PSI 20.7 MPa |
Male O-Ring Face Seal to Male O-Ring Face Seal
Male O-Ring Face Seal to Female JIC
Male O-Ring Face Seal to Female O-Ring Face Seal
Male O-Ring Face Seal to Male SAE O-Ring Boss
Male O-Ring Face Seal to Male Pipe
Male JIC to Male O-Ring Face Seal
Male JIC to Female O-Ring Face Seal
Male JIC to Female JIC
Male JIC to Male SAE O-Ring Boss
Male JIC to Male Pipe
Male JIC to Female Pipe
Female Pipe to Male O-Ring Face Seal
Female Pipe to Female O-Ring Face Seal
Female Pipe to Female JIC
Female Pipe to Male SAE O-Ring Boss
Female Pipe to Male Pipe
Female Pipe to Female Pipe
Male JIC to Male JIC
Male O-Ring Face Seal to Male JIC
Part Number
S6F6-F6
S6F8-F8
S8F10-F10
S8F12-F12
S16F16-F16
S20F20-F20
S24F24-F24
Part Number
S6F6-JF6
S6F8-JF8
S8F8-JF8
S8F10-JF10
S8F12-JF12
S12F12-JF12
S16F16-JF16
S20F20-JF20
S24F24-JF24
Part Number
S6F6-FF6
S6F6-FF8
S6F8-FF6
S6F8-FF8
S8F10-FF10
S12F12-FF12
S16F16-FF16
S20F20-FF20
S24F24-FF24
Part Number
S6F6-O6
S6F6-O8
S6F8-O6
S6F8-O8
S6F8-O10
S8F10-O8
S8F10-O10
S8F12-O10
S8F12-O12
S12F12-O12
S16F16-O16
S20F20-O20
S24F24-O24
Part Number
S6F6-P4
S6F6-P6
S6F8-P6
S8F8-P8
S8F10-P8
S8F12-P12
S16F16-P16
S20F20-P20
S24F24-P24
Part Number
S6J6-F6
S6J8-F8
S8J8-F8
S8J10-F10
S8J12-F12
S16J16-F16
S20J20-F20
S24J24-F24
Part Number
S6J6-FF6
S6J6-FF8
S6J8-FF6
S6J8-FF8
S8J8-FF10
S8J10-FF10
S8J12-FF10
S12J12-FF12
S16J16-FF16
S20J20-FF20
S24J24-FF24
Part Number
S6J6-JF6
S6J6-JF8
S6J8-JF6
S6J8-JF8
S8J8-JF8
S8J8-JF10
S8J8-JF12
S8J10-JF8
S8J10-JF10
S8J10-JF12
S8J12-JF8
S8J12-JF10
S8J12-JF12
S12J12-JF12
S12J14-JF14
S16J16-JF16
S20J20-JF20
S24J24-JF24
S32J32-JF32
Part Number
S6J6-O6
S6J6-O8
S6J8-O6
S6J8-O8
S8J8-O8
S8J8-O10
S8J8-O12
S8J10-O8
S8J10-O10
S8J10-O12
S8J12-O8
S8J12-O10
S8J12-O12
S16J16-O16
S20J20-O20
S24J24-O24
S32J32-O32
Part Number
S6J6-P4
S6J6-P6
S6J8-P4
S6J8-P6
S8J8-P8
S8J8-P12
S8J10-P8
S8J10-P12
S8J12-P8
S8J12-P12
S16J16-P16
S20J20-P20
S24J24-P24
S32J32-P32
Part Number
S6J6-PF4
S6J6-PF6
S6J8-PF4
S6J8-PF6
S8J8-PF8
S8J8-PF12
S8J10-PF8
S8J10-PF12
S8J12-PF8
S8J12-PF12
S16J16-PF16
S20J20-PF20
S24J24-PF24
S32J32-PF32
Part Number
S6PF4-F6
S6PF6-F6
S6PF6-F8
S8PF8-F8
S8PF8-F10
S8PF12-F12
S16PF16-F16
S20PF20-F20
S24PF24-F24
Part Number
S6PF4-FF6
S6PF4-FF8
S6PF6-FF6
S6PF6-FF8
S8PF8-FF10
S8PF12-FF10
S16PF16-FF16
S20PF20-FF20
S24PF24-FF24
Part Number
S6PF4-JF6
S6PF4-JF8
S6PF6-JF6
S6PF6-JF8
S8PF8-JF8
S8PF8-JF10
S8PF8-JF12
S8PF12-JF8
S8PF12-JF10
S8PF12-JF12
S16PF16-JF16
S20PF20-JF20
S24PF24-JF24
S32PF32-JF32
Part Number
S6PF4-O6
S6PF4-O8
S6PF6-O6
S6PF6-O8
S8PF8-O8
S8PF8-O10
S8PF8-O12
S8PF12-O8
S8PF12-O10
S8PF12-O12
S16PF16-O16
S20PF20-O20
S24PF24-O24
S32PF32-O32
Part Number
S6PF4-P4
S6PF4-P6
S6PF6-P4
S6PF6-P6
S8PF8-P8
S8PF8-P12
S8PF12-P8
S8PF12-P12
S16PF16-P16
S20PF20-P20
S24PF24-P24
S32PF32-P32
Part Number
S6PF4-PF4
S6PF4-PF6
S6PF6-PF4
S6PF6-PF6
S8PF8-PF8
S8PF8-PF12
S8PF12-PF8
S8PF12-PF12
S16PF16-PF16
S20PF20-PF20
S24PF24-PF24
S32PF32-PF32
Part Number
S6J6-J6
S6J8-J8
S8J8-J8
S8J10-J10
S8J12-J12
S12J12-J12
S16J16-J16
S20J20-J20
S24J24-J24
S32J32-J32
Part Number
S6F6-J6
S6F6-J8
S6F8-J8
S6F8-J6
S8F8-J8
S8F10-J8
S8F10-J10
S8F12-J12
S12F12-J12
S16F16-J16
S20F20-J20
S24F24-J24
|