|
|
|
|
Hydraulics, Inc. 旋轉接頭 SWIVELS
SWIVELS, COUPLINGS, AND CONTROLS FOR HYDRAULIC SYSTEMS
SWIVELS;S-Inline,HS-Heavy Duty Inline,9S-90° Swivel,9SS-Dual Plane Swivel,18S-Parallel Plane Swivel,Flange Swivels
SWIVELS;HS-Heavy Duty Inline
“HS”系列直列式水龍頭于2010年推出,以提供比標準“S”系列直列式水龍頭更高的性能。這種重型直列式水龍頭的設計壓力高達5000磅/平方英寸,安全系數為4:1。經過改進的軸承設計以及雙滾珠軸承座圈、高強度合金鋼和其他設計特點,使“HS”系列獲得了超長的使用壽命,并可在惡劣的應用環境中運行。The "HS" series in-line swivel was introduced in 2010 to offer expanded performance over the standard "S" series in-line swivel. This heavy duty in-line swivel is designed to operate at pressures up to 5,000 psi with a 4:1 safety factor. An improved bearing design along with dual ball races, higher strength alloy steel and other design features allow the “HS” series to achieve extremely long life and operate in severe applications.

Hydraulics, Inc. Design Features
通過硬化合金鋼筒體和閥桿
大磨損面,角偏轉,低扭矩
改進的軸承設計大大延長了使用壽命
雙環設計提高了側面負載的阻力
永久潤滑軸承
鉻合金固定球
標準O型環和備用環-現場可更換
拋光桶孔延長密封壽命
可選密封材料
低壓降
防護處理.黃色鉻酸鹽RoHS兼容表面鍍鋅
Through hardened alloy steel barrel and stem
Large wear surface for angular deflection & low rotational torque
Improved bearing design greatly extends useful life
Dual race design improves resistance to side loads
Permanently lubricated bearing
Chrome retainer balls
Standard O-Ring and back up ring - Field replaceable
Burnished barrel bore for extended seal life
Optional seal materials available
Low pressure drop
Protective treatment - Zinc Plating with Yellow Chromate RoHS compliant finish

注意CAUTION:
不要試圖在壓力下斷開和拆卸旋轉裝置。在壓力下,不要從閥桿上拆下旋轉筒。不要試圖操作損壞的旋轉接頭,也不要操作顯示油液泄漏和/或明顯軸承磨損的旋轉接頭。考慮所選旋轉裝置的額定壓力不能超過旋轉裝置及其所選端口的額定值。請參閱安全信息-選擇和使用液壓系統,包括旋轉接頭
Do not attempt to disconnect and disassemble swivels under pressure. Do not remove the swivel barrel from stem while under pressure. Do not attempt to operate damaged swivels and do not operate swivels displaying fluid leak and/or obvious bearing wear. Consider that a selected swivels rated pressure cannot exceed the lowest rating of the swivel and of it's selected ports. Refer to Safety Information - Selecting and Using Hydraulics, Inc. Swivel Joints.
壓力限制Pressure Limitations:
“HS”系列轉環的工作壓力取決于所選的端口選擇;然而,連接管道的額定壓力可能高于或低于旋轉閥。流體動力系統的額定工作壓力不應超過其額定部件。Maximum working pressure for “HS” Series swivels is dependant on port options chosen; however, connecting plumbing may be rated higher or lower than that of the swivel. The rated working pressure of a fluid power system should not exceed the lowest rated component therein.
安裝信息Installation Information:
Hydraulics, Inc. 的旋轉接頭通常被認為是流體動力系統中遇到的低速旋轉。轉速取決于系統環境,流體類型和與溫度和壓力有關的極端條件是考慮因素。可疑的應用應通過實驗室或原型測試證明。安裝時應避免污染,連接管道不應造成過度負荷。水龍頭不應用作承重或結構構件。有關更多信息,請參閱安全信息-選擇和使用液壓系統,包括旋轉接頭。Hydraulics, Inc. swivel joints are generally considered for low speed rotation as encountered in fluid power systems. Maximum speed of rotation depends upon system environment, with fluid types and extreme conditions related to temperature and pressure being of prime consideration. Questionable applications should be proven by laboratory or prototype testing. Contamination at installation should be avoided and connecting plumbing should not cause undue loading. The swivel should not be used as a load bearing or structural member. Refer to Safety Information - Selecting and Using Hydraulics, Inc. Swivel Joints for additional information.
Options:
本網站上顯示的旋轉閥被視為液壓公司的標準配置。有關本網站上未顯示的壓力額定值、端口選項或尺寸的其他要求,請與我們聯系。可選擇密封材料。Swivels shown on this website are considered standard to Hydraulics, Inc. For other requirements relative to pressure ratings, port options, or sizes not shown on this website, please contact us. Optional seal materials are available.

 |
 |
 |
| Male O-Ring Face Seal to Male O-Ring Face Seal |
MALE O-RING FACE SEAL TO FEMALE JIC |
Male O-Ring Face Seal to Female O-Ring Face Seal |
 |
 |
 |
| Male O-Ring Face Seal to Male SAE O-Ring Boss |
Male O-Ring Face Seal to Male Pipe |
Male JIC to Male O-Ring Face Seal |
 |
 |
 |
| Male JIC to Female O-Ring Face Seal |
Male JIC to Female JIC |
Male JIC to O-Male SAE O-Ring Boss |
 |
 |
 |
| Male JIC to Male Pipe |
Male JIC to Female Pipe |
Female Pipe to Male O-Ring Face Seal |
 |
 |
 |
| Female Pipe to Female O-Ring Face Seal |
Female Pipe to Female JIC |
Female Pipe to Male SAE O-Ring Boss |
 |
 |
 |
| Female Pipe to Male Pipe |
Female Pipe to Female Pipe |
Female British Pipe to Female B |
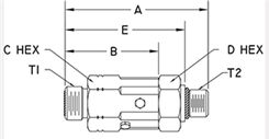
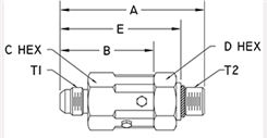
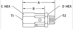
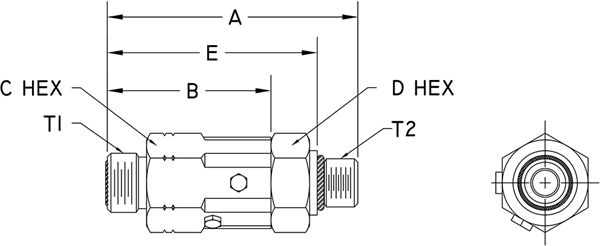
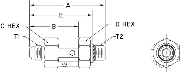
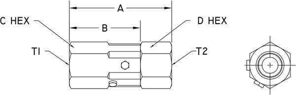
SWIVELS | HS-HEAVY DUTY INLINE | MALE O-RING FACE SEAL TO MALE O-RING FACE SEAL
MALE O-RING FACE SEAL TO MALE O-RING FACE SEAL
male-o-ring-face-seal-to-male-o-ring-face-seal

| Part Number |
T1 |
T2 |
A |
B |
C Hex(* = Round) |
D Hex(* = Round) |
Max W.P. |
| HS6F6-F6 |
11/16-16 UN-2A |
11/16-16 UN-2A |
2.86 72.6 mm |
1.91 48.5 mm |
1.00 25.4 mm |
1.00 25.4 mm |
5,000 PSI 34.5 MPa |
| HS8F8-F8 |
13/16-16 UN-2A |
13/16-16 UN-2A |
3.18 80.8 mm |
2.10 53.3 mm |
1.25 31.8 mm |
1.25 31.8 mm |
5,000 PSI 34.5 MPa |
| HS8F10-F10 |
1-14 UNS-2A |
1-14 UNS-2A |
3.39 86.1 mm |
2.21 56.1 mm |
1.25 31.8 mm |
1.25 31.8 mm |
5,000 PSI 34.5 MPa |
| HS12F12-F12 |
1-3/16-12 UN-2A |
1-3/16-12 UN-2A |
3.67 93.2 mm |
2.42 61.5 mm |
1.50 38.1 mm |
1.50 38.1 mm |
5,000 PSI 34.5 MPa |
| HS16F16-F16 |
1-7/16-12 UN-2A |
1-7/16-12 UN-2A |
4.29 109.0 mm |
2.75 69.9 mm |
1.75 44.5 mm |
1.75 44.5 mm |
4,000 PSI 27.6 MPa |
| HS20F20-F20 |
1-11/16-12 UN-2A |
1-11/16-12 UN-2A |
4.58 116.3 mm |
2.81 71.4 mm |
2.25 57.2 mm |
2.00 50.8 mm |
4,000 PSI 27.6 MPa |
| HS24F24-F24 |
2-12 UN-2A |
2-12 UN-2A |
5.27 133.9 mm |
3.22 81.8 mm |
*2.75 69.9 mm |
*2.75 69.9 mm |
4,000 PSI 27.6 MPa |
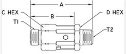
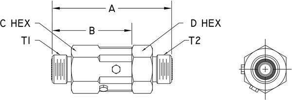
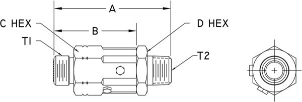
SWIVELS | HS-HEAVY DUTY INLINE | MALE O-RING FACE SEAL TO FEMALE JIC
MALE O-RING FACE SEAL TO FEMALE JIC
male-o-ring-face-seal-to-female-jic

| Part Number |
T1 |
T2 |
A |
B |
C Hex(* = Round) |
D Hex(* = Round) |
Max W.P. |
| HS6F6-JF6 |
11/16-16 UN-2A |
9/16-18 UNF-2B |
2.37 60.2 mm |
1.91 48.5 mm |
1.00 25.4 mm |
1.00 25.4 mm |
5,000 PSI 34.5 MPa |
| HS8F8-JF8 |
13/16-16 UN-2A |
3/4-16 UNF-2B |
2.72 69.1 mm |
2.10 53.3 mm |
1.25 31.8 mm |
1.25 31.8 mm |
5,000 PSI 34.5 MPa |
| HS8F10-JF10 |
1-14 UNS-2A |
7/8-14 UNF-2B |
2.96 75.2 mm |
2.21 56.1 mm |
1.25 31.8 mm |
1.25 31.8 mm |
5,000 PSI 34.5 MPa |
| HS12F12-JF12 |
1-3/16-12 UN-2A |
1-1/16-12 UN-2B |
3.09 78.5 mm |
2.42 61.5 mm |
1.50 38.1 mm |
1.50 38.1 mm |
5,000 PSI 34.5 MPa |
| HS16F16-JF16 |
1-7/16-12 UN-2A |
1-5/16-12 UN-2B |
3.57 90.7 mm |
2.75 69.9 mm |
1.75 44.5 mm |
1.75 44.5 mm |
4,000 PSI 27.6 MPa |
| HS20F20-JF20 |
1-11/16-12 UN-2A |
1-5/8-12 UN-2B |
3.73 94.7 mm |
2.81 71.4 mm |
2.25 57.2 mm |
2.00 50.8 mm |
4,000 PSI 27.6 MPa |
| HS24F24-JF24 |
2-12 UN-2A |
1-7/8-12 UN-2B |
4.22 107.2 mm |
3.22 81.8 mm |
*2.75 69.9 mm |
*2.75 69.9 mm |
4,000 PSI 27.6 MPa |
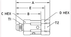
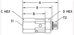
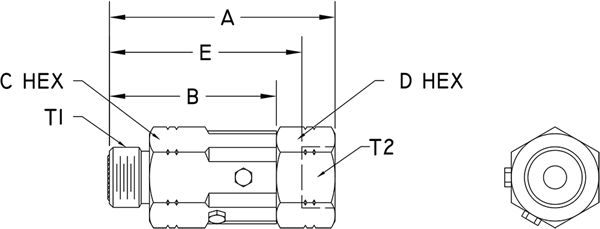
SWIVELS | HS-HEAVY DUTY INLINE | MALE O-RING FACE SEAL TO FEMALE O-RING FACE SEAL
MALE O-RING FACE SEAL TO FEMALE O-RING FACE SEAL
male-o-ring-face-seal-to-female-o-ring-face-seal

| Part Number |
T1 |
T2 |
A |
B |
C Hex(* = Round) |
D Hex(* = Round) |
E |
Max W.P. |
| HS6F6-FF6 |
11/16-16 UN-2A |
11/16-16 UN-2B |
2.58 65.5 mm |
1.91 48.5 mm |
1.00 25.4 mm |
1.00 25.4 mm |
2.20 55.9 mm |
5,000 PSI 34.5 MPa |
| HS8F8-FF8 |
13/16-16 UN-2A |
13/16-16 UN-2B |
2.80 71.1 mm |
2.10 53.3 mm |
1.25 31.8 mm |
1.25 31.8 mm |
2.36 59.9 mm |
5,000 PSI 34.5 MPa |
| HS8F10-FF10 |
1-14 UNS-2A |
1-14 UNS-2B |
3.04 77.2 mm |
2.21 56.1 mm |
1.25 31.8 mm |
1.25 31.8 mm |
2.51 63.8 mm |
5,000 PSI 34.5 MPa |
| HS12F12-FF12 |
1-3/16-12 UN-2A |
1-3/16-12 UN-2B |
3.47 88.1 mm |
2.42 61.5 mm |
1.50 38.1 mm |
1.50 38.1 mm |
2.89 73.4 mm |
5,000 PSI 34.5 MPa |
| HS16F16-FF16 |
1-7/16-12 UN-2A |
1-7/16-12 UN-2B |
3.89 98.8 mm |
2.75 69.9 mm |
1.75 44.5 mm |
1.75 44.5 mm |
3.30 83.8 mm |
4,000 PSI 27.6 MPa |
| HS20F20-FF20 |
1-11/16-12 UN-2A |
1-11/16-12 UN-2B |
3.99 101.3 mm |
2.81 71.4 mm |
2.25 57.2 mm |
2.00 50.8 mm |
3.40 86.4 mm |
4,000 PSI 27.6 MPa |
| HS24F24-FF24 |
2-12 UN-2A |
2-12 UN-2B |
4.36 110.7 mm |
3.77 95.8 mm |
*2.75 69.9 mm |
*2.75 69.9 mm |
3.77 95.8 mm |
4,000 PSI 27.6 MPa |
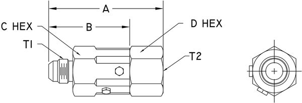
SWIVELS | HS-HEAVY DUTY INLINE | MALE O-RING FACE SEAL TO MALE SAE O-RING BOSS
MALE O-RING FACE SEAL TO MALE SAE O-RING BOSS
male-o-ring-face-seal-to-male-sae-o-ring-boss

| Part Number |
T1 |
T2 |
A |
B |
C Hex(* = Round) |
D Hex(* = Round) |
E |
Max W.P. |
| HS6F6-O6 |
11/16-16 UN-2A |
9/16-18 UNF-2A |
2.92 74.2 mm |
1.91 48.5 mm |
1.00 25.4 mm |
1.00 25.4 mm |
2.45 62.2 mm |
5,000 PSI 34.5 MPa |
| HS8F8-O8 |
13/16-16 UN-2A |
3/4-16 UNF-2A |
3.28 83.3 mm |
2.10 53.3 mm |
1.25 31.8 mm |
1.25 31.8 mm |
2.73 69.3 mm |
5,000 PSI 34.5 MPa |
| HS8F10-O10 |
1-14 UNS-2A |
7/8-14 UNF-2A |
3.39 86.1 mm |
2.21 56.1 mm |
1.25 31.8 mm |
1.25 31.8 mm |
2.76 70.1 mm |
5,000 PSI 34.5 MPa |
| HS12F12-O12 |
1-3/16-12 UN-2A |
1-1/16-12 UN-2A |
3.84 97.5 mm |
2.42 61.5 mm |
1.50 38.1 mm |
1.50 38.1 mm |
3.11 79.0 mm |
5,000 PSI 34.5 MPa |
| HS16F16-O16 |
1-7/16-12 UN-2A |
1-5/16-12 UN-2A |
4.28 108.7 mm |
2.75 69.9 mm |
1.75 44.5 mm |
1.75 44.5 mm |
3.55 90.2 mm |
4,000 PSI 27.6 MPa |
| HS20F20-O20 |
1-11/16-12 UN-2A |
1-5/8-12 UN-2A |
4.53 115.1 mm |
2.81 71.4 mm |
2.25 57.2 mm |
2.00 50.8 mm |
3.80 96.5 mm |
4,000 PSI 27.6 MPa |
| HS24F24-O24 |
2-12 UN-2A |
1-7/8-12 UN-2A |
5.22 132.6 mm |
3.22 81.8 mm |
*2.75 69.9 mm |
*2.75 69.9 mm |
4.49 114.0 mm |
4,000 PSI 27.6 MPa |
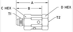
SWIVELS | HS-HEAVY DUTY INLINE | MALE O-RING FACE SEAL TO MALE PIPE
MALE O-RING FACE SEAL TO MALE PIPE
male-o-ring-face-seal-to-male-pipe

| Part Number |
T1 |
T2 |
A |
B |
C Hex(* = Round) |
D Hex(* = Round) |
Max W.P. |
| HS6F6-P4 |
11/16-16 UN-2A |
1/4-18 NPTF |
2.72 69.1 mm |
1.91 48.5 mm |
1.00 25.4 mm |
1.00 25.4 mm |
5,000 PSI 34.5 MPa |
| HS6F6-P6 |
11/16-16 UN-2A |
3/8-18 NPTF |
2.72 69.1 mm |
1.91 48.5 mm |
1.00 25.4 mm |
1.00 25.4 mm |
5,000 PSI 34.5 MPa |
| HS8F8-P8 |
13/16-16 UN-2A |
1/2-14 NPTF |
3.16 80.3 mm |
2.10 53.3 mm |
1.25 31.8 mm |
1.25 31.8 mm |
5,000 PSI 34.5 MPa |
| HS8F10-P8 |
1-14 UNS-2A |
1/2-14 NPTF |
3.27 83.1 mm |
2.21 56.1 mm |
1.25 31.8 mm |
1.25 31.8 mm |
5,000 PSI 34.5 MPa |
| HS12F12-P12 |
1-3/16-12 UN-2A |
3/4-14 NPTF |
3.71 94.2 mm |
2.42 61.5 mm |
1.50 38.1 mm |
1.50 38.1 mm |
5,000 PSI 34.5 MPa |
| HS16F16-P16 |
1-7/16-12 UN-2A |
1-11 1/2 NPTF |
4.27 108.5 mm |
2.75 69.9 mm |
1.75 44.5 mm |
1.75 44.5 mm |
4,000 PSI 27.6 MPa |
| HS20F20-P20 |
1-11/16-12 UN-2A |
1 1/4-11 1/2 NPTF |
4.58 116.3 mm |
2.81 71.4 mm |
2.25 57.2 mm |
2.25 57.2 mm |
4,000 PSI 27.6 MPa |
| HS24F24-P24 |
2-12 UN-2A |
1 1/2-11 1/2 NPTF |
5.27 133.9 mm |
3.22 81.8 mm |
*2.75 69.9 mm |
*2.75 69.9 mm |
4,000 PSI 27.6 MPa |
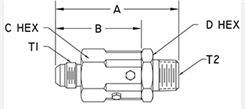
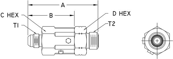
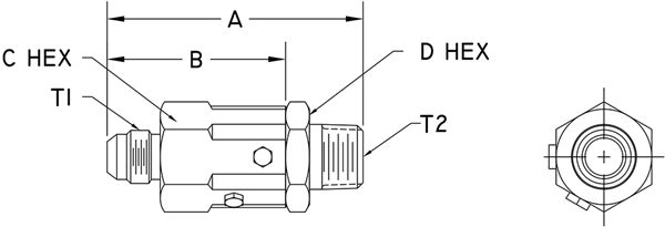
SWIVELS | HS-HEAVY DUTY INLINE | MALE JIC TO MALE O-RING FACE SEAL
MALE JIC TO MALE O-RING FACE SEAL
male-jic-to-male-o-ring-face-seal

| Part Number |
T1 |
T2 |
A |
B |
C Hex(* = Round) |
D Hex(* = Round) |
Max W.P. |
| HS6J6-F6 |
9/16-18 UNF-2A |
11/16-16 UN-2A |
2.82 71.6 mm |
1.87 47.5 mm |
1.00 25.4 mm |
1.00 25.4 mm |
5,000 PSI 34.5 MPa |
| HS8J8-F8 |
3/4-16 UNF-2A |
13/16-16 UN-2A |
3.32 84.3 mm |
2.24 56.9 mm |
1.25 31.8 mm |
1.25 31.8 mm |
5,000 PSI 34.5 MPa |
| HS8J10-F10 |
7/8-14 UNF-2A |
1-14 UNS-2A |
3.52 89.4 mm |
2.34 59.4 mm |
1.25 31.8 mm |
1.25 31.8 mm |
5,000 PSI 34.5 MPa |
| HS12J12-F12 |
1-1/16-12 UN-2A |
1-3/16-12 UN-2A |
3.80 96.5 mm |
2.55 64.8 mm |
1.50 38.1 mm |
1.50 38.1 mm |
5,000 PSI 34.5 MPa |
| HS16J16-F16 |
1-5/16-12 UN-2A |
1-7/16-12 UN-2A |
4.19 106.4 mm |
2.65 67.3 mm |
1.75 44.5 mm |
1.75 44.5 mm |
4,000 PSI 27.6 MPa |
| HS20J20-F20 |
1-5/8-12 UN-2A |
1-11/16-12 UN-2A |
4.51 114.6 mm |
2.74 69.6 mm |
2.25 57.2 mm |
2.25 57.2 mm |
4,000 PSI 27.6 MPa |
| HS24J24-F24 |
1-7/8-12 UN-2A |
2-12 UN-2A |
5.17 131.3 mm |
3.12 79.2 mm |
*2.75 69.9 mm |
*2.75 69.9 mm |
4,000 PSI 27.6 MPa |
SWIVELS | HS-HEAVY DUTY INLINE | MALE JIC TO FEMALE O-RING FACE SEAL
MALE JIC TO FEMALE O-RING FACE SEAL
male-jic-to-female-o-ring-face-seal

| Part Number |
T1 |
T2 |
A |
B |
C Hex(* = Round) |
D Hex(* = Round) |
E |
Max W.P. |
| HS6J6-FF6 |
9/16-18 UNF-2A |
11/16-16 UN-2B |
2.54 64.5 mm |
1.87 47.5 mm |
1.00 25.4 mm |
1.00 25.4 mm |
2.16 54.9 mm |
5,000 PSI 34.5 MPa |
| HS8J8-FF8 |
3/4-16 UNF-2A |
13/16-16 UN-2B |
2.93 74.4 mm |
2.24 56.9 mm |
1.25 31.8 mm |
1.25 31.8 mm |
2.49 63.2 mm |
5,000 PSI 34.5 MPa |
| HS8J10-FF10 |
7/8-14 UNF-2A |
1-14 UNS-2B |
3.17 80.5 mm |
2.34 59.4 mm |
1.25 31.8 mm |
1.25 31.8 mm |
2.63 66.8 mm |
5,000 PSI 34.5 MPa |
| HS12J12-FF12 |
1-1/16-12 UN-2A |
1-3/16-12 UN-2B |
3.60 91.4 mm |
2.55 64.8 mm |
1.50 38.1 mm |
1.50 38.1 mm |
3.02 76.7 mm |
5,000 PSI 34.5 MPa |
| HS16J16-FF16 |
1-5/16-12 UN-2A |
1-7/16-12 UN-2B |
3.79 96.3 mm |
2.65 67.3 mm |
1.75 44.5 mm |
1.75 44.5 mm |
3.20 81.3 mm |
4,000 PSI 27.6 MPa |
| HS20J20-FF20 |
1-5/8-12 UN-2A |
1-11/16-12 UN-2B |
3.92 99.6 mm |
2.74 69.6 mm |
2.25 57.2 mm |
2.25 57.2 mm |
3.33 84.6 mm |
4,000 PSI 27.6 MPa |
| HS24J24-FF24 |
1-7/8-12 UN-2A |
2-12 UN-2B |
4.26 108.2 mm |
3.12 79.2 mm |
*2.75 69.9 mm |
*2.75 69.9 mm |
3.67 93.2 mm |
4,000 PSI 27.6 MPa |
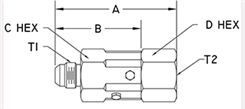
SWIVELS | HS-HEAVY DUTY INLINE | MALE JIC TO FEMALE JIC
MALE JIC TO FEMALE JIC
male-jic-to-female-jic

| Part Number |
T1 |
T2 |
A |
B |
C Hex(* = Round) |
D Hex(* = Round) |
Max W.P. |
| HS6J6-JF6 |
9/16-18 UNF-2A |
9/16-18 UNF-2B |
2.33 59.2 mm |
1.87 47.5 mm |
1.00 25.4 mm |
1.00 25.4 mm |
5,000 PSI 34.5 MPa |
| HS8J8-JF8 |
3/4-16 UNF-2A |
3/4-16 UNF-2B |
2.86 72.6 mm |
2.24 56.9 mm |
1.25 31.8 mm |
1.25 31.8 mm |
5,000 PSI 34.5 MPa |
| HS8J8-JF10 |
3/4-16 UNF-2A |
7/8-14 UNF-2B |
2.99 75.9 mm |
2.24 56.9 mm |
1.25 31.8 mm |
1.25 31.8 mm |
5,000 PSI 34.5 MPa |
| HS8J10-JF8 |
7/8-14 UNF-2A |
3/4-16 UNF-2B |
2.96 75.2 mm |
2.34 59.4 mm |
1.25 31.8 mm |
1.25 31.8 mm |
5,000 PSI 34.5 MPa |
| HS8J10-JF10 |
7/8-14 UNF-2A |
7/8-14 UNF-2B |
3.09 78.5 mm |
2.34 59.4 mm |
1.25 31.8 mm |
1.25 31.8 mm |
5,000 PSI 34.5 MPa |
| HS12J12-JF12 |
1-1/16-12 UN-2A |
1-1/16-12 UN-2B |
3.21 81.5 mm |
2.55 64.8 mm |
1.50 38.1 mm |
1.50 38.1 mm |
5,000 PSI 34.5 MPa |
| HS12J12-JF14 |
1-1/16-12 UN-2A |
1-3/16-12 UN-2B |
3.51 89.2 mm |
2.55 64.8 mm |
1.50 38.1 mm |
1.50 38.1 mm |
5,000 PSI 34.5 MPa |
| HS12J14-JF12 |
1-3/16-12 UN-2A |
1-1/16-12 UN-2B |
3.24 82.3 mm |
2.57 65.3 mm |
1.50 38.1 mm |
1.50 38.1 mm |
5,000 PSI 34.5 MPa |
| HS12J14-JF14 |
1-3/16-12 UN-2A |
1-3/16-12 UN-2B |
3.54 89.9 mm |
2.57 65.3 mm |
1.50 38.1 mm |
1.50 38.1 mm |
5,000 PSI 34.5 MPa |
| HS16J16-JF16 |
1-5/16-12 UN-2A |
1-5/16-12 UN-2B |
3.47 88.1 mm |
2.65 67.3 mm |
1.75 44.5 mm |
1.75 44.5 mm |
4,000 PSI 27.6 MPa |
| HS20J20-JF20 |
1-5/8-12 UN-2A |
1-5/8-12 UN-2B |
3.66 93.0 mm |
2.74 69.6 mm |
2.25 57.2 mm |
2.00 50.8 mm |
4,000 PSI 27.6 MPa |
| HS24J24-JF24 |
1-7/8-12 UN-2A |
1-7/8-12 UN-2B |
4.12 104.6 mm |
3.12 79.2 mm |
*2.75 69.9 mm |
*2.75 69.9 mm |
4,000 PSI 27.6 MPa |
| HS32J32-JF32 |
2-1/2-12 UN-2A |
2-1/2-12 UN-2B |
5.67 144.0 mm |
4.38 111.3 mm |
*3.50 88.9 mm |
*3.50 88.9 mm |
3,000 PSI 20.7 MPa |
SWIVELS | HS-HEAVY DUTY INLINE | MALE JIC TO MALE SAE O-RING BOSS
MALE JIC TO MALE SAE O-RING BOSS
male-jic-to-male-sae-o-ring-boss

| Part Number |
T1 |
T2 |
A |
B |
C Hex(* = Round) |
D Hex(* = Round) |
E |
Max W.P. |
| HS6J6-O6 |
9/16-18 UNF-2A |
9/16-18 UNF-2A |
2.88 73.2 mm |
1.87 47.5 mm |
1.00 25.4 mm |
1.00 25.4 mm |
2.41 61.2 mm |
5,000 PSI 34.5 MPa |
| HS8J8-O8 |
3/4-16 UNF-2A |
3/4-16 UNF-2A |
3.42 86.9 mm |
2.24 56.9 mm |
1.25 31.8 mm |
1.25 31.8 mm |
2.86 72.6 mm |
5,000 PSI 34.5 MPa |
| HS8J8-O10 |
3/4-16 UNF-2A |
7/8-14 UNF-2A |
3.42 86.9 mm |
2.24 56.9 mm |
1.25 31.8 mm |
1.25 31.8 mm |
2.79 70.9 mm |
5,000 PSI 34.5 MPa |
| HS8J10-O8 |
7/8-14 UNF-2A |
3/4-16 UNF-2A |
3.52 89.4 mm |
2.34 59.4 mm |
1.25 31.8 mm |
1.25 31.8 mm |
2.96 75.2 mm |
5,000 PSI 34.5 MPa |
| HS8J10-O10 |
7/8-14 UNF-2A |
7/8-14 UNF-2A |
3.52 89.4 mm |
2.34 59.4 mm |
1.25 31.8 mm |
1.25 31.8 mm |
2.89 73.4 mm |
5,000 PSI 34.5 MPa |
| HS12J12-O12 |
1-1/16-12 UN-2A |
1-1/16-12 UN-2A |
3.97 100.8 mm |
2.55 64.8 mm |
1.50 38.1 mm |
1.50 38.1 mm |
3.24 82.3 mm |
5,000 PSI 34.5 MPa |
| HS12J14-O12 |
1-3/16-12 UN-2A |
1-1/16-12 UN-2A |
3.99 101.3 mm |
2.57 65.3 mm |
1.50 38.1 mm |
1.50 38.1 mm |
3.27 83.1 mm |
5,000 PSI 34.5 MPa |
| HS16J16-O16 |
1-5/16-12 UN-2A |
1-5/16-12 UN-2A |
4.18 106.2 mm |
2.65 67.3 mm |
1.75 44.5 mm |
1.75 44.5 mm |
3.45 87.6 mm |
4,000 PSI 27.6 MPa |
| HS20J20-O20 |
1-5/8-12 UN-2A |
1-5/8-12 UN-2A |
4.46 113.3 mm |
2.74 69.6 mm |
2.25 57.2 mm |
2.00 50.8 mm |
3.73 94.7 mm |
4,000 PSI 27.6 MPa |
| HS24J24-O24 |
1-7/8-12 UN-2A |
1-7/8-12 UN-2A |
5.12 130.0 mm |
3.12 79.2 mm |
*2.75 69.9 mm |
*2.75 69.9 mm |
4.39 111.5 mm |
4,000 PSI 27.6 MPa |
| HS32J32-O32 |
2-1/2-12 UN-2A |
2-1/2-12 UN-2A |
6.95 176.5 mm |
4.38 111.3 mm |
*3.50 88.9 mm |
*3.50 88.9 mm |
6.23 158.2 mm |
3,000 PSI 20.7 MPa |
SWIVELS | HS-HEAVY DUTY INLINE | MALE JIC TO MALE PIPE
MALE JIC TO MALE PIPE
male-jic-to-male-pipe

| Part Number |
T1 |
T2 |
A |
B |
C Hex(* = Round) |
D Hex(* = Round) |
Max W.P. |
| HS6J6-P4 |
9/16-18 UNF-2A |
1/4-18 NPTF |
2.68 68.1 mm |
1.87 47.5 mm |
1.00 25.4 mm |
1.00 25.4 mm |
5,000 PSI 34.5 MPa |
| HS6J6-P6 |
9/16-18 UNF-2A |
3/8-18 NPTF |
2.68 68.1 mm |
1.87 47.5 mm |
1.00 25.4 mm |
1.00 25.4 mm |
5,000 PSI 34.5 MPa |
| HS8J8-P8 |
3/4-16 UNF-2A |
1/2-14 NPTF |
3.30 83.8 mm |
2.24 56.9 mm |
1.25 31.8 mm |
1.25 31.8 mm |
5,000 PSI 34.5 MPa |
| HS8J10-P8 |
7/8-14 UNF-2A |
1/2-14 NPTF |
3.40 86.4 mm |
2.34 59.4 mm |
1.25 31.8 mm |
1.25 31.8 mm |
5,000 PSI 34.5 MPa |
| HS12J12-P12 |
1-1/16-12 UN-2A |
3/4-14 NPTF |
3.84 97.5 mm |
2.55 64.8 mm |
1.50 38.1 mm |
1.50 38.1 mm |
5,000 PSI 34.5 MPa |
| HS12J14-P12 |
1-3/16-12 UN-2A |
3/4-14 NPTF |
3.87 98.3 mm |
2.57 65.3 mm |
1.50 38.1 mm |
1.50 38.1 mm |
5,000 PSI 34.5 MPa |
| HS16J16-P16 |
1-5/16-12 UN-2A |
1-11 1/2 NPTF |
4.17 105.9 mm |
2.65 67.3 mm |
1.75 44.5 mm |
1.75 44.5 mm |
4,000 PSI 27.6 MPa |
| HS20J20-P20 |
1-5/8-12 UN-2A |
1 1/4-11 1/2 NPTF |
4.51 114.6 mm |
2.74 69.6 mm |
2.25 57.2 mm |
2.00 50.8 mm |
4,000 PSI 27.6 MPa |
| HS24J24-P24 |
1-7/8-12 UN-2A |
1 1/2-11 1/2 NPTF |
5.17 131.3 mm |
3.12 79.2 mm |
*2.75 69.9 mm |
*2.75 69.9 mm |
4,000 PSI 27.6 MPa |
| HS32J32-P32 |
2-1/2-12 UN-2A |
2-11 1/2 NPTF |
6.95 176.5 mm |
4.38 111.3 mm |
*3.50 88.9 mm |
*3.50 88.9 mm |
3,000 PSI 20.7 MPa |
SWIVELS | HS-HEAVY DUTY INLINE | MALE JIC TO FEMALE PIPE
MALE JIC TO FEMALE PIPE
male-jic-to-female-pipe

| Part Number |
T1 |
T2 |
A |
B |
C Hex(* = Round) |
D Hex(* = Round) |
Max W.P. |
| HS6J6-PF4 |
9/16-18 UNF-2A |
1/4-18 NPTF |
2.64 67.1 mm |
1.87 47.5 mm |
1.00 25.4 mm |
1.00 25.4 mm |
5,000 PSI 34.5 MPa |
| HS6J6-PF6 |
9/16-18 UNF-2A |
3/8-18 NPTF |
2.64 67.1 mm |
1.87 47.5 mm |
1.00 25.4 mm |
1.00 25.4 mm |
5,000 PSI 34.5 MPa |
| HS8J8-PF8 |
3/4-16 UNF-2A |
1/2-14 NPTF |
3.42 86.9 mm |
2.24 56.9 mm |
1.25 31.8 mm |
1.25 31.8 mm |
5,000 PSI 34.5 MPa |
| HS8J10-PF8 |
7/8-14 UNF-2A |
1/2-14 NPTF |
3.52 89.4 mm |
2.34 59.4 mm |
1.25 31.8 mm |
1.25 31.8 mm |
5,000 PSI 34.5 MPa |
| HS12J12-PF12 |
1-1/16-12 UN-2A |
3/4-14 NPTF |
3.64 92.5 mm |
2.55 64.8 mm |
1.50 38.1 mm |
1.50 38.1 mm |
5,000 PSI 34.5 MPa |
| HS12J14-PF12 |
1-3/16-12 UN-2A |
3/4-14 NPTF |
3.67 93.2 mm |
2.57 65.3 mm |
1.50 38.1 mm |
1.50 38.1 mm |
5,000 PSI 34.5 MPa |
| HS16J16-PF16 |
1-5/16-12 UN-2A |
1-11 1/2 NPTF |
3.82 97.0 mm |
2.65 67.3 mm |
1.75 44.5 mm |
1.75 44.5 mm |
4,000 PSI 27.6 MPa |
| HS20J20-PF20 |
1-5/8-12 UN-2A |
1 1/4-11 1/2 NPTF |
4.10 104.1 mm |
2.74 69.6 mm |
2.25 57.2 mm |
2.00 50.8 mm |
4,000 PSI 27.6 MPa |
| HS24J24-PF24 |
1-7/8-12 UN-2A |
1 1/2-11 1/2 NPTF |
5.17 131.3 mm |
3.12 79.2 mm |
*2.75 69.9 mm |
*2.75 69.9 mm |
4,000 PSI 27.6 MPa |
| HS32J32-PF32 |
2-1/2-12 UN-2A |
2-11 1/2 NPTF |
6.15 156.2 mm |
4.38 111.3 mm |
*3.50 88.9 mm |
*3.50 88.9 mm |
3,000 PSI 20.7 MPa |
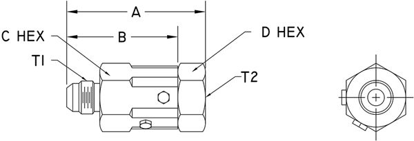
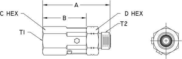
SWIVELS | HS-HEAVY DUTY INLINE | FEMALE PIPE TO MALE O-RING FACE SEAL
FEMALE PIPE TO MALE O-RING FACE SEAL
female-pipe-to-male-o-ring-face-seal

| Part Number |
T1 |
T2 |
A |
B |
C Hex(* = Round) |
D Hex(* = Round) |
Max W.P. |
| HS6PF4-F6 |
1/4-18 NPTF |
11/16-16 UN-2A |
2.70 68.6 mm |
1.75 44.5 mm |
1.00 25.4 mm |
1.00 25.4 mm |
5,000 PSI 34.5 MPa |
| HS6PF6-F6 |
3/8-18 NPTF |
11/16-16 UN-2A |
2.70 68.6 mm |
1.75 44.5 mm |
1.00 25.4 mm |
1.00 25.4 mm |
5,000 PSI 34.5 MPa |
| HS8PF8-F8 |
1/2-14 NPTF |
13/16-16 UN-2A |
3.25 82.6 mm |
2.17 55.1 mm |
1.25 31.8 mm |
1.25 31.8 mm |
5,000 PSI 34.5 MPa |
| HS8PF8-F10 |
1/2-14 NPTF |
1-14 UNS-2A |
3.36 85.3 mm |
2.17 55.1 mm |
1.25 31.8 mm |
1.25 31.8 mm |
5,000 PSI 34.5 MPa |
| HS12PF12-F12 |
3/4-14 NPTF |
1-3/16-12 UN-2A |
3.67 93.2 mm |
2.42 61.5 mm |
1.50 38.1 mm |
1.50 38.1 mm |
5,000 PSI 34.5 MPa |
| HS16PF16-F16 |
1-11 1/2 NPTF |
1-7/16-12 UN-2A |
3.98 101.1 mm |
2.44 62.0 mm |
1.75 44.5 mm |
1.75 44.5 mm |
4,000 PSI 27.6 MPa |
| HS20PF20-F20 |
1 1/4-11 1/2 NPTF |
1-11/16-12 UN-2A |
4.37 111.0 mm |
2.60 66.0 mm |
2.25 57.2 mm |
2.00 50.8 mm |
4,000 PSI 27.6 MPa |
| HS24PF24-F24 |
1 1/2-11 1/2 NPTF |
2-12 UN-2A |
5.27 133.9 mm |
3.22 81.8 mm |
*2.75 69.9 mm |
*2.75 69.9 mm |
4,000 PSI 27.6 MPa |
SWIVELS | HS-HEAVY DUTY INLINE | FEMALE PIPE TO FEMALE O-RING FACE SEAL
FEMALE PIPE TO FEMALE O-RING FACE SEAL
female-pipe-to-female-o-ring-face-seal

| Part Number |
T1 |
T2 |
A |
B |
C Hex(* = Round) |
D Hex(* = Round) |
E |
Max W.P. |
| HS6PF4-FF6 |
1/4-18 NPTF |
11/16-16 UN-2B |
2.42 61.5 mm |
1.75 44.5 mm |
1.00 25.4 mm |
1.00 25.4 mm |
2.04 51.8 mm |
5,000 PSI 34.5 MPa |
| HS6PF6-FF6 |
3/8-18 NPTF |
11/16-16 UN-2B |
2.42 61.5 mm |
1.75 44.5 mm |
1.00 25.4 mm |
1.00 25.4 mm |
2.04 51.8 mm |
5,000 PSI 34.5 MPa |
| HS8PF8-FF8 |
1/2-14 NPTF |
13/16-16 UN-2B |
2.86 72.6 mm |
2.17 55.1 mm |
1.25 31.8 mm |
1.25 31.8 mm |
2.43 61.7 mm |
5,000 PSI 34.5 MPa |
| HS8PF8-FF10 |
1/2-14 NPTF |
1-14 UNS-2B |
3.01 76.5 mm |
2.17 55.1 mm |
1.25 31.8 mm |
1.25 31.8 mm |
2.47 62.7 mm |
5,000 PSI 34.5 MPa |
| HS12PF12-FF12 |
3/4-14 NPTF |
1-3/16-12 UN-2B |
3.47 88.1 mm |
2.42 61.5 mm |
1.50 38.1 mm |
1.50 38.1 mm |
2.89 73.4 mm |
5,000 PSI 34.5 MPa |
| HS16PF16-FF16 |
1-11 1/2 NPTF |
1-7/16-12 UN-2B |
3.58 90.9 mm |
2.44 62.0 mm |
1.75 44.5 mm |
1.75 44.5 mm |
2.99 75.9 mm |
4,000 PSI 27.6 MPa |
| HS20PF20-FF20 |
1 1/4-11 1/2 NPTF |
1-11/16-12 UN-2B |
3.78 96.0 mm |
2.60 66.0 mm |
2.25 57.2 mm |
2.00 50.8 mm |
3.19 81.0 mm |
4,000 PSI 27.6 MPa |
| HS24PF24-FF24 |
1 1/2-11 1/2 NPTF |
2-12 UN-2B |
4.36 110.7 mm |
3.22 81.8 mm |
*2.75 69.9 mm |
*2.75 69.9 mm |
3.77 95.8 mm |
4,000 PSI 27.6 MPa |
SWIVELS | HS-HEAVY DUTY INLINE | FEMALE PIPE TO FEMALE JIC
FEMALE PIPE TO FEMALE JIC
female-pipe-to-female-jic

| Part Number |
T1 |
T2 |
A |
B |
C Hex(* = Round) |
D Hex(* = Round) |
Max W.P. |
| HS6PF4-JF6 |
1/4-18 NPTF |
9/16-18 UNF-2B |
2.21 56.1 mm |
1.75 44.5 mm |
1.00 25.4 mm |
1.00 25.4 mm |
5,000 PSI 34.5 MPa |
| HS6PF6-JF6 |
3/8-18 NPTF |
9/16-18 UNF-2B |
2.21 56.1 mm |
1.75 44.5 mm |
1.00 25.4 mm |
1.00 25.4 mm |
5,000 PSI 34.5 MPa |
| HS8PF8-JF8 |
1/2-14 NPTF |
3/4-16 UNF-2B |
2.79 70.9 mm |
2.17 55.1 mm |
1.25 31.8 mm |
1.25 31.8 mm |
5,000 PSI 34.5 MPa |
| HS8PF8-JF10 |
1/2-14 NPTF |
7/8-14 UNF-2B |
2.92 74.2 mm |
2.17 55.1 mm |
1.25 31.8 mm |
1.25 31.8 mm |
5,000 PSI 34.5 MPa |
| HS12PF12-JF12 |
3/4-14 NPTF |
1-1/16-12 UN-2B |
3.09 78.5 mm |
2.45 62.2 mm |
1.50 38.1 mm |
1.50 38.1 mm |
5,000 PSI 34.5 MPa |
| HS12PF12-JF14 |
3/4-14 NPTF |
1-3/16-12 UN-2B |
3.38 85.9 mm |
2.42 61.5 mm |
1.50 38.1 mm |
1.50 38.1 mm |
5,000 PSI 34.5 MPa |
| HS16PF16-JF16 |
1-11 1/2 NPTF |
1-5/16-12 UN-2B |
3.26 82.8 mm |
2.44 62.0 mm |
1.75 44.5 mm |
1.75 44.5 mm |
4,000 PSI 27.6 MPa |
| HS20PF20-JF20 |
1 1/4-11 1/2 NPTF |
1-5/8-12 UN-2B |
3.52 89.4 mm |
2.60 66.0 mm |
2.25 57.2 mm |
2.00 50.8 mm |
4,000 PSI 27.6 MPa |
| HS24PF24-JF24 |
1 1/2-11 1/2 NPTF |
1-7/8-12 UN-2B |
4.22 107.2 mm |
3.22 81.8 mm |
*2.75 69.9 mm |
*2.75 69.9 mm |
4,000 PSI 27.6 MPa |
| HS32PF32-JF32 |
2-11 1/2 NPTF |
2-1/2-12 UN-2B |
5.59 142.0 mm |
4.30 109.2 mm |
*3.50 88.9 mm |
*3.50 88.9 mm |
3,000 PSI 20.7 MPa |
SWIVELS | HS-HEAVY DUTY INLINE | FEMALE PIPE TO MALE SAE O-RING BOSS
FEMALE PIPE TO MALE SAE O-RING BOSS
female-pipe-to-male-sae-o-ring-boss

| Part Number |
T1 |
T2 |
A |
B |
C Hex(* = Round) |
D Hex(* = Round) |
E |
Max W.P. |
| HS6PF4-O6 |
1/4-18 NPTF |
9/16-18 UNF-2A |
2.76 70.1 mm |
1.75 44.5 mm |
1.00 25.4 mm |
1.00 25.4 mm |
2.29 58.2 mm |
5,000 PSI 34.5 MPa |
| HS6PF6-O6 |
3/8-18 NPTF |
9/16-18 UNF-2A |
2.76 70.1 mm |
1.75 44.5 mm |
1.00 25.4 mm |
1.00 25.4 mm |
2.29 58.2 mm |
5,000 PSI 34.5 MPa |
| HS8PF8-O8 |
1/2-14 NPTF |
3/4-16 UNF-2A |
3.35 85.1 mm |
2.17 55.1 mm |
1.25 31.8 mm |
1.25 31.8 mm |
2.80 71.1 mm |
5,000 PSI 34.5 MPa |
| HS8PF8-O10 |
1/2-14 NPTF |
7/8-14 UNF-2A |
3.35 85.1 mm |
2.17 55.1 mm |
1.25 31.8 mm |
1.25 31.8 mm |
2.72 69.1 mm |
5,000 PSI 34.5 MPa |
| HS12PF12-O12 |
3/4-14 NPTF |
1-1/16-12 UN-2A |
3.84 97.5 mm |
2.42 61.5 mm |
1.50 38.1 mm |
1.50 38.1 mm |
3.11 79.0 mm |
5,000 PSI 34.5 MPa |
| HS16PF16-O16 |
1-11 1/2 NPTF |
1-5/16-12 UN-2A |
3.97 100.8 mm |
2.44 62.0 mm |
1.75 44.5 mm |
1.75 44.5 mm |
3.24 82.3 mm |
4,000 PSI 27.6 MPa |
| HS20PF20-O20 |
1 1/4-11 1/2 NPTF |
1-5/8-12 UN-2A |
4.32 109.7 mm |
2.60 66.0 mm |
2.25 57.2 mm |
2.00 50.8 mm |
3.59 91.2 mm |
4,000 PSI 27.6 MPa |
| HS24PF24-O24 |
1 1/2-11 1/2 NPTF |
1-7/8-12 UN-2A |
5.22 132.6 mm |
3.22 81.8 mm |
*2.75 69.9 mm |
*2.75 69.9 mm |
4.49 114.0 mm |
4,000 PSI 27.6 MPa |
| HS32PF32-O32 |
2-11 1/2 NPTF |
2-1/2-12 UN-2A |
6.87 174.5 mm |
4.30 109.2 mm |
*3.50 88.9 mm |
*3.50 88.9 mm |
6.15 156.2 mm |
3,000 PSI 20.7 MPa |
SWIVELS | HS-HEAVY DUTY INLINE | FEMALE PIPE TO MALE PIPE
FEMALE PIPE TO MALE PIPE
female-pipe-to-male-pipe

| Part Number |
T1 |
T2 |
A |
B |
C Hex |
D Hex |
Max W.P. |
| HS6PF4-P4 |
1/4-18 NPTF |
1/4-18 NPTF |
2.56 65.0 mm |
1.75 44.5 mm |
1.00 25.4 mm |
1.00 25.4 mm |
5,000 PSI 34.5 MPa |
| HS6PF4-P6 |
1/4-18 NPTF |
3/8-18 NPTF |
2.56 65.0 mm |
1.75 44.5 mm |
1.00 25.4 mm |
1.00 25.4 mm |
5,000 PSI 34.5 MPa |
| HS6PF6-P4 |
3/8-18 NPTF |
1/4-18 NPTF |
2.56 65.0 mm |
1.75 44.5 mm |
1.00 25.4 mm |
1.00 25.4 mm |
5,000 PSI 34.5 MPa |
| HS6PF6-P6 |
3/8-18 NPTF |
3/8-18 NPTF |
2.56 65.0 mm |
1.75 44.5 mm |
1.00 25.4 mm |
1.00 25.4 mm |
5,000 PSI 34.5 MPa |
| HS8PF8-P8 |
1/2-14 NPTF |
1/2-14 NPTF |
3.23 82.0 mm |
2.17 55.1 mm |
1.25 31.8 mm |
1.25 31.8 mm |
5,000 PSI 34.5 MPa |
| HS12PF12-P12 |
3/4-14 NPTF |
3/4-14 NPTF |
3.71 94.2 mm |
2.42 61.5 mm |
1.50 38.1 mm |
1.50 38.1 mm |
5,000 PSI 34.5 MPa |
| HS16PF16-P16 |
1-11 1/2 NPTF |
1-11 1/2 NPTF |
3.96 100.6 mm |
2.44 62.0 mm |
1.75 44.5 mm |
1.75 44.5 mm |
4,000 PSI 27.6 MPa |
| HS20PF20-P20 |
1 1/4-11 1/2 NPTF |
1 1/4-11 1/2 NPTF |
4.37 111.0 mm |
2.60 66.0 mm |
2.25 57.2 mm |
2.00 50.8 mm |
4,000 PSI 27.6 MPa |
| HS24PF24-P24 |
1 1/2-11 1/2 NPTF |
1 1/2-11 1/2 NPTF |
5.27 133.9 mm |
3.22 81.8 mm |
*2.75 69.9 mm |
*2.75 69.9 mm |
4,000 PSI 27.6 MPa |
| HS32PF32-P32 |
2-11 1/2 NPTF |
2-11 1/2 NPTF |
6.87 174.5 mm |
4.30 109.2 mm |
*3.50 88.9 mm |
*3.50 88.9 mm |
3,000 PSI 20.7 MPa |
SWIVELS | HS-HEAVY DUTY INLINE | FEMALE PIPE TO FEMALE PIPE
FEMALE PIPE TO FEMALE PIPE
female-pipe-to-female-pipe

| Part Number |
T1 |
T2 |
A |
B |
C Hex(* = Round) |
D Hex(* = Round) |
Max W.P. |
| HS6PF4-PF4 |
1/4-18 NPTF |
1/4-18 NPTF |
2.52 64.0 mm |
1.75 44.5 mm |
1.00 25.4 mm |
1.00 25.4 mm |
5,000 PSI 34.5 MPa |
| HS6PF6-PF4 |
3/8-18 NPTF |
1/4-18 NPTF |
2.52 64.0 mm |
1.75 44.5 mm |
1.00 25.4 mm |
1.00 25.4 mm |
5,000 PSI 34.5 MPa |
| HS6PF6-PF6 |
3/8-18 NPTF |
3/8-18 NPTF |
2.52 64.0 mm |
1.75 44.5 mm |
1.00 25.4 mm |
1.00 25.4 mm |
5,000 PSI 34.5 MPa |
| HS8PF8-PF8 |
1/2-14 NPTF |
1/2-14 NPTF |
3.35 85.1 mm |
2.17 55.1 mm |
1.25 31.8 mm |
1.25 31.8 mm |
5,000 PSI 34.5 MPa |
| HS12PF12-PF12 |
3/4-14 NPTF |
3/4-14 NPTF |
3.51 89.2 mm |
2.42 61.5 mm |
1.50 38.1 mm |
1.50 38.1 mm |
5,000 PSI 34.5 MPa |
| HS16PF16-PF16 |
1-11 1/2 NPTF |
1-11 1/2 NPTF |
3.61 91.7 mm |
2.44 62.0 mm |
1.75 44.5 mm |
1.75 44.5 mm |
4,000 PSI 27.6 MPa |
| HS20PF20-PF20 |
1 1/4-11 1/2 NPTF |
1 1/4-11 1/2 NPTF |
3.96 100.6 mm |
2.60 66.0 mm |
2.25 57.2 mm |
2.00 50.8 mm |
4,000 PSI 27.6 MPa |
| HS24PF24-PF24 |
1 1/2-11 1/2 NPTF |
1 1/2-11 1/2 NPTF |
5.27 133.9 mm |
3.22 81.8 mm |
*2.75 69.9 mm |
*2.75 69.9 mm |
4,000 PSI 27.6 MPa |
| HS32PF32-PF32 |
2-11 1/2 NPTF |
2-11 1/2 NPTF |
6.07 154.2 mm |
4.30 109.2 mm |
*3.50 88.9 mm |
*3.50 88.9 mm |
3,000 PSI 20.7 MPa |
SWIVELS | HS-HEAVY DUTY INLINE | FEMALE BRITISH PIPE TO FEMALE BRITISH PIPE
FEMALE BRITISH PIPE TO FEMALE BRITISH PIPE
female-british-pipe-to-female-british-pipe

| Part Number |
T1 |
T2 |
A |
B |
C Hex(* = Round) |
D Hex(* = Round) |
Max W.P. |
| HS6BF4-BF4 |
G 1/4 BSPP |
G 1/4 BSPP |
2.52 64.0 mm |
1.75 44.5 mm |
1.00 25.4 mm |
1.00 25.4 mm |
5,000 PSI 34.5 MPa |
| HS6BF6-BF4 |
G 3/8 BSPP |
G 1/4 BSPP |
2.52 64.0 mm |
1.75 44.5 mm |
1.00 25.4 mm |
1.00 25.4 mm |
5,000 PSI 34.5 MPa |
| HS6BF6-BF6 |
G 3/8 BSPP |
G 3/8 BSPP |
2.52 64.0 mm |
1.75 44.5 mm |
1.00 25.4 mm |
1.00 25.4 mm |
5,000 PSI 34.5 MPa |
| HS8BF8-BF8 |
G 1/2 BSPP |
G 1/2 BSPP |
3.35 85.1 mm |
2.17 55.1 mm |
1.25 31.8 mm |
1.25 31.8 mm |
5,000 PSI 34.5 MPa |
| HS12BF12-BF12 |
G 3/4 BSPP |
G 3/4 BSPP |
3.51 89.2 mm |
2.42 61.5 mm |
1.50 38.1 mm |
1.50 38.1 mm |
5,000 PSI 34.5 MPa |
| HS16BF16-BF16 |
G 1 BSPP |
G 1 BSPP |
3.61 91.7 mm |
2.44 62.0 mm |
1.75 44.5 mm |
1.75 44.5 mm |
4,000 PSI 27.6 MPa |
| HS20BF20-BF20 |
G 1 1/4 BSPP |
G 1 1/4 BSPP |
3.96 100.6 mm |
2.60 66.0 mm |
2.25 57.2 mm |
2.00 50.8 mm |
4,000 PSI 27.6 MPa |
| HS24BF24-BF24 |
G 1 1/2 BSPP |
G 1 1/2 BSPP |
5.27 133.9 mm |
3.22 81.8 mm |
*2.75 69.9 mm |
*2.75 69.9 mm |
4,000 PSI 27.6 MPa |
| HS32BF32-BF32 |
G 2 BSPP |
G 2 BSPP |
6.07 154.2 mm |
4.30 109.2 mm |
*3.50 88.9 mm |
*3.50 88.9 mm |
3,000 PSI 20.7 MPa |
Male O-Ring Face Seal to Male O-Ring Face Seal
MALE O-RING FACE SEAL TO FEMALE JIC
Male O-Ring Face Seal to Female O-Ring Face Seal
Male O-Ring Face Seal to Male SAE O-Ring Boss
Male O-Ring Face Seal to Male Pipe
Male JIC to Male O-Ring Face Seal
Male JIC to Female O-Ring Face Seal
Male JIC to Female JIC
Male JIC to O-Male SAE O-Ring Boss
Male JIC to Male Pipe
Male JIC to Female Pipe
Female Pipe to Male O-Ring Face Seal
Female Pipe to Female O-Ring Face Seal
Female Pipe to Female JIC
Female Pipe to Male SAE O-Ring Boss
Female Pipe to Male Pipe
Female Pipe to Female Pipe
Female British Pipe to Female B
Part Number
HS6F6-F6
HS8F8-F8
HS8F10-F10
HS12F12-F12
HS16F16-F16
HS20F20-F20
HS24F24-F24
Part Number
HS6F6-JF6
HS8F8-JF8
HS8F10-JF10
HS12F12-JF12
HS16F16-JF16
HS20F20-JF20
HS24F24-JF24
Part Number
HS6F6-FF6
HS8F8-FF8
HS8F10-FF10
HS12F12-FF12
HS16F16-FF16
HS20F20-FF20
HS24F24-FF24
Part Number
HS6F6-O6
HS8F8-O8
HS8F10-O10
HS12F12-O12
HS16F16-O16
HS20F20-O20
HS24F24-O24
Part Number
HS6F6-P4
HS6F6-P6
HS8F8-P8
HS8F10-P8
HS12F12-P12
HS16F16-P16
HS20F20-P20
HS24F24-P24
Part Number
HS6J6-F6
HS8J8-F8
HS8J10-F10
HS12J12-F12
HS16J16-F16
HS20J20-F20
HS24J24-F24
Part Number
HS6J6-FF6
HS8J8-FF8
HS8J10-FF10
HS12J12-FF12
HS16J16-FF16
HS20J20-FF20
HS24J24-FF24
Part Number
HS6J6-JF6
HS8J8-JF8
HS8J8-JF10
HS8J10-JF8
HS8J10-JF10
HS12J12-JF12
HS12J12-JF14
HS12J14-JF12
HS12J14-JF14
HS16J16-JF16
HS20J20-JF20
HS24J24-JF24
HS32J32-JF32
Part Number
HS6J6-O6
HS8J8-O8
HS8J8-O10
HS8J10-O8
HS8J10-O10
HS12J12-O12
HS12J14-O12
HS16J16-O16
HS20J20-O20
HS24J24-O24
HS32J32-O32
Part Number
HS6J6-P4
HS6J6-P6
HS8J8-P8
HS8J10-P8
HS12J12-P12
HS12J14-P12
HS16J16-P16
HS20J20-P20
HS24J24-P24
HS32J32-P32
Part Number
HS6J6-PF4
HS6J6-PF6
HS8J8-PF8
HS8J10-PF8
HS12J12-PF12
HS12J14-PF12
HS16J16-PF16
HS20J20-PF20
HS24J24-PF24
HS32J32-PF32
Part Number
HS6PF4-F6
HS6PF6-F6
HS8PF8-F8
HS8PF8-F10
HS12PF12-F12
HS16PF16-F16
HS20PF20-F20
HS24PF24-F24
Part Number
HS6PF4-FF6
HS6PF6-FF6
HS8PF8-FF8
HS8PF8-FF10
HS12PF12-FF12
HS16PF16-FF16
HS20PF20-FF20
HS24PF24-FF24
Part Number
HS6PF4-JF6
HS6PF6-JF6
HS8PF8-JF8
HS8PF8-JF10
HS12PF12-JF12
HS12PF12-JF14
HS16PF16-JF16
HS20PF20-JF20
HS24PF24-JF24
HS32PF32-JF32
Part Number
HS6PF4-O6
HS6PF6-O6
HS8PF8-O8
HS8PF8-O10
HS12PF12-O12
HS16PF16-O16
HS20PF20-O20
HS24PF24-O24
HS32PF32-O32
Part Number
HS6PF4-P4
HS6PF4-P6
HS6PF6-P4
HS6PF6-P6
HS8PF8-P8
HS12PF12-P12
HS16PF16-P16
HS20PF20-P20
HS24PF24-P24
HS32PF32-P32
Part Number
HS6PF4-PF4
HS6PF6-PF4
HS6PF6-PF6
HS8PF8-PF8
HS12PF12-PF12
HS16PF16-PF16
HS20PF20-PF20
HS24PF24-PF24
HS32PF32-PF32
Part Number
HS6BF4-BF4
HS6BF6-BF4
HS6BF6-BF6
HS8BF8-BF8
HS12BF12-BF12
HS16BF16-BF16
HS20BF20-BF20
HS24BF24-BF24
HS32BF32-BF32
|